To help JAC authorized professional maintenance technicians for effective and proper maintenance and repair of JAC J7 transmission, we compile this transmission maintenance manual. The MF622D35 gearbox is suitable for the J7 manual transmission model equipped with a 1.5T engine. The CVT automatic transmission is suitable for the J7 automatic transmission model equipped with a 1.5T engine.
All contents of this manual, including pictures and technical parameters, are up-to-date. If maintenance is affected due to product improvement, JAC Passenger Vehicle Marketing Company will provide technical notices or supplementary volumes. Therefore, you should pay close attention to obtain relevant information when using this manual 'S latest developments. JAC reserves the right to make changes in product design, additions or improvements.
This manual may not be copied or modified in any form, including but not limited to electronic, paper, audio-visual, mechanical, etc., without the written authorization of JAC Passenger Car Marketing Company.
The final interpretation of this manual belongs to JAC. During the process of maintaining JAC transmission, if use non-genuine parts of JAC or disqualified oil, the transmission may be damaged.
Anhui Jianghuai Automobile Group Co., Ltd
September 2019
CVT Automatic Transmission.....................................................- 1 -
MF622D35 Manual Transmission...........................................- 103 -
1.1Comparison of traditional automatic transmission and CVT transmission...............- 7 -
3. General Information.................................................- 22 -
3.4 CNG (Compressed Natural Gas), LPG (Liquefied Petroleum Gas) etc...................- 22 -
4. Technical Parameter/Maintenance Parameter......................................- 23 -
5. Torque Parameters................................................- 23 -
(6) Special Tools ..............................................- 24 -
Chapter II Driving Strategy...........................................- 26 -
1. Function Characteristic of Parking and Neutral Gear.................................- 26 -
1.2 Function of D/R Gear..................................................- 26 -
1.3 Failure Default Mode..................................................- 28 -
Chapter III Usage Instruction...........................................- 29 -
1. Transmission Oil................................................- 29 -
1.1 Special Tool (No)..................................................- 29 -
1.2 Oil Level Inspection......................................................- 30 -
2.1 Special Tool......................................................- 31 -
2.2 Gear Shift Pull Rode Assembly..................................................- 31 -
3. Half Shaft...................................................- 34 -
3.1 Installation..........................................................- 34 -
4. Differential Oil Seal.............................................- 36 -
4.1 Failure Instruction......................................................- 36 -
4.2 Special Tool......................................................- 36 -
4.3 Removal..........................................................- 36 -
4.4 Installation..........................................................- 36 -
5. Input Shaft Oil Seal.............................................- 37 -
5.1 Failure Instruction......................................................- 37 -
5.2 Special Tool......................................................- 37 -
5.3 Removal..........................................................- 37 -
5.4 Installation..........................................................- 37 -
6. Gear Select Shaft Oil Seal.............................................- 38 -
6.1 Failure Instruction......................................................- 38 -
6.2 Special Tool......................................................- 38 -
6.3 Removal..........................................................- 39 -
6.4 Installation..........................................................- 40 -
7. Drive Bevel Gear End Cover.........................................- 41 -
7.1 Failure Instruction......................................................- 41 -
7.2 Removal..........................................................- 41 -
7.3 Installation..........................................................- 41 -
8. Oil Pump...................................................- 41 -
8.1 Failure Instruction......................................................- 41 -
8.2 Special Tool......................................................- 42 -
8.3 Removal..........................................................- 42 -
8.4 Installation..........................................................- 43 -
9. Drive Bevel Wheel Shaft Ball Bearing......................................- 43 -
9.1 Failure Instruction......................................................- 43 -
9.2 Special Tool......................................................- 43 -
9.3 Removal..........................................................- 44 -
9.4 Installation..........................................................- 46 -
10. Driven Bevel Wheel Shaft End Cover.........................................- 47 -
10.1 Failure Instruction......................................................- 47 -
10.2 Removal..........................................................- 47 -
10.3 Installation..........................................................- 47 -
11. Oil Pan...............................................- 48 -
11.1 Failure Instruction......................................................- 48 -
11.2 Removal..........................................................- 48 -
11.3 Installation..........................................................- 48 -
12. Oil Filter................................................- 49 -
12.1 Failure Instruction......................................................- 49 -
12.2 Removal..........................................................- 49 -
12.3 Installation..........................................................- 49 -
13. Driving Mode Sensor........................................- 50 -
13.1 Failure Instruction......................................................- 50 -
13.2 Removal..........................................................- 50 -
13.3 Installation..........................................................- 51 -
14. Hydraulic Control Module...........................................- 52 -
14.1 Failure Instruction......................................................- 52 -
14.2 Removal..........................................................- 52 -
14.3 Installation..........................................................- 53 -
15. Driven Bevel Wheel Speed Sensor and Bracket.........................................- 55 -
15.1 Failure Instruction......................................................- 55 -
15.2 Removal..........................................................- 55 -
15.3 Installation..........................................................- 56 -
16. Drive Bevel Wheel Speed Sensor.........................................- 57 -
16.1 Failure Instruction......................................................- 57 -
16.2 Removal..........................................................- 57 -
16.3 Installation..........................................................- 57 -
17. Main Connector and Inner Wire Harness......................................- 57 -
17.1 Failure Instruction......................................................- 57 -
17.2 Removal..........................................................- 57 -
17.3 Installation..........................................................- 59 -
18. Breather Pipe..............................................- 60 -
18.1 Special Tool......................................................- 60 -
18.2 Removal..........................................................- 60 -
18.3 Installation..........................................................- 61 -
Chapter IV Electrical Schematic Diagram.........................................- 62 -
1. TCU Connector Diagram..............................................- 62 -
1.1 TCU Connector..............................................- 62 -
1.2 TCU and Transmission Connector..............................................- 63 -
1.3 Pins of Transmission Main Connector.............................................. - 64 -
1.4 Circuit Diagram of TCU Pins.................................................- 65 -
2. Electronic Component Inspection List.........................................- 67 -
2.1 Driving Mode Sensor..................................................- 67 -
2.2 Corresponding Resistance Value of Each Pin..............................................- 67 -
2.3 Oil Temperature Sensor....................................................- 67 -
2.4 Revolution Speed Sensor....................................................- 67 -
2.5 Oil Pressure Sensor....................................................- 68 -
2.6 Clutch Pressure Regulator..............................................- 68 -
2.7 Drive Bevel Wheel Pressure Regulator............................................- 68 -
2.8 Driven Bevel Wheel Pressure Regulator............................................- 68 -
3. Circuit Diagram of Transmission System........................................- 69 -
4. Adaptive Update..............................................- 72 -
4.1 Instruction......................................................- 72 -
4.2 Demand Condition......................................................- 72 -
4.3 Program..........................................................- 72 -
5. Common Problems................................................- 75 -
Chapter V Troubleshooting...........................................- 77 -
1. Diagnosis List.................................................- 77 -
2. Noise Problem Check and Maintenance.....................................- 79 -
3. DTC and Measures.......................................- 85 -
3.1 General Instruction......................................................- 85 -
Chapter I Overview
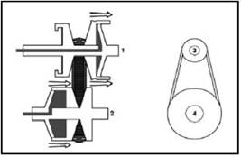
The continuous change of the transmission ratio can be achieved by a speed change device which consists of two opposed cone wheels and a V-shaped transmission steel belt surrounding the two wheels. The transmission ratio of the transmission is transmitted to the differential in the transmission through the countershaft.
This manual briefly introduces the transmission, including the design and function of each part of the transmission, and describes the dynamic transmission and control device. In addition, this manual also outlines the transmission's oil cooling system and external gear shifting mechanism.
The transmission's stepless shift mode allows you to drive more comfortably and improves vehicle performance. Using this automatic transmission has the following advantages:
- In the condition of constant speed, the engine speed is low;
- Improve emission control/reduced fuel consumption;
- NVH (noise, vibration, jangle) is small;
- Accelerate smoothly;
- Drive flexibly on mountain roads;
The following figure shows the comparison of transmission ratio between CVT and manual or conventional automatic transmission. The transmission ratio of a conventional automatic transmission is a series of fixed values.
When the transmission is in high gear, the transmission ratio shown on the right figure will vary along the thick solid or dashed line according to the opening degree of the throttle valve. However, with CVT transmission, the transmission ratio variation diagram is shown on the left. The shift points of both transmissions are related to the opening degree of the throttle valve operated by the driver.
When the opening degree of the throttle valve becomes larger, the engine speed increases and the transmission changes into high gear.If use the traditional transmission, the engine speed will be significantly reduced, but use the CVT transmission, the engine speed will not reduce. In the condition of constant engine speed, CVT transmission can be rotated into high gear by moving cone (see below). In addition, there are other gear shift strategies available, which will help the new user of CVT transmission accept it more quickly.
Drive
wheel speed (Nprim) Throttle
valve partly open acceleration Throttle
valve closed Drive
wheel speed (Nprim) Maximum
torque Throttle
valve fully open acceleration Maximum
torque Low gear Throttle
valve fully open Overtaking
gear Transmission
ratio change figure of conventional automatic transmission Transmission
ratio change figure of CVT automatic transmission

![]()
Speed ratio change diagram of CVT transmission (left) and 4-gear automatic transmission (right)



1. Torsional shock absorber/Flywheel
2. Oil Pump
3. Backward clutch
4. Planet mechanism
5. Forward clutch
6. Steel belt
7. Drive bevel gear
8. Driven bevel wheel
9. Countershaft
10. Differential

1. Input shaft rubber guard sleeve 482235 26. Differential speed sensor bracket fixing screw 481289
2. Input shaft oil seal 481274 27. Differential speed sensor bracket 482468
3. Differential oil seal cover 481296 28. Revolution speed sensor fixing bolt 481283
4. Differential oil seal 483329 29. Oil pan washer 482504
5. Oil filling screw plug washer 481247 30. Valve body assembly 482589
6. Oil filling screw plug 481248 31. Valve body bolt 481311
7. Breather pipe cap 483420 32. Plastic buckle 482253
8. Breather pipe assembly 483114 33. Oil filter assembly 483165
9. Driven bevel wheel shaft end cover O-type ring (small) 481254 34. Oil pan magnet 481870
10. Driven bevel wheel shaft end cover sealing ring 481877 35. Oil pan assembly
11. Driven bevel wheel shaft end cover O-type ring (big) 481255 36. Oil drain screw plug 482442
12. Driven bevel wheel shaft end cover 482982 37. Driving mode sensor fixing screw 481090
13. Driven bevel wheel shaft end cover countersunk screw 482208 38. Driving mode sensor 482493
14. Drive bevel wheel shaft ball bearing 482294 39. Oil cooler screw plug O-type ring 481258
15. Drive bevel wheel shaft nut 481293 40. Oil cooler screw plug 482121
16. Conical spring washer 481856 41. Oil level screw plug washer 481249
17. Oil pump sealing ring 481826 42. Oil level screw plug 481250
18. Oil pump O-type ring 481259 43.Main connector cover 482104
19. Oil pump (with O-type ring) 483323 44.Main connector buckle 482105
20. Oil pump bolt 481284 45.Main connector and inner wire harness 482475
21. Drive bevel wheel shaft end cover O-type ring 481253 46. Gear select pull rod nut 481329
22. Drive bevel wheel shaft end cover 481173 47. Gear select pull rod 483185
23. Drive bevel wheel shaft end cover buckle 481189 48. Gear select pull rod nut washer 482584
24. Drive bevel wheel shaft end cover bolt 481283 49. Oil seal (gear select shaft) 482099
24. Oil pan bolt 481283 50. Locating pin 483138
25. Revolution speed sensor 482410 51. Metal buckle 481456
These components can be divided into three groups according to the corresponding functions of the VT3 transmission:
· Group 1 - mechanical transmission device. This part is designed to provide mechanical transmission and torque transfer.
· Group 2 - control system and control system related components. According to the load condition and driving requirement, the control system ensures that the transmission transfers power and changes the transmission ratio at the appropriate time.
· Group 3 - external connecting device and some components that are connected to the external of transmission. Some of these components are located in or connected to the transmission, while others are part of the overall system but are distributed elsewhere in the vehicle.
The planetary mechanism enables the transmission to provide forward and backward driving torque. The torque provided by the engine is usually transmitted to the transmission through the input shaft on the planetary carrier. The multi-plate clutch engaged in the forward direction can directly connect the planetary carrier to the solar gear. At this point, the planetary carrier and the solar gear become a rotating whole through engagement, and the engine torque is directly transferred to the drive gear. The planetary gear does not transmit any torque, so there is no mechanical loss to the planetary mechanism, and the drive gear will rotate in the same direction as the engine. This is the forward mode.
In the reversing mode, engaging the reversing multi-plate clutch can keep the gear ring in the planetary mechanism still, and the planetary carrier drives the three pairs of planetary gear sets to make the solar gear rotate in the opposite direction. At this time, the gear set's transmission ratio is 1:1.1, and slight deceleration and torque increasing will occur to compensate for the friction loss of the planetary mechanism.

Planet mechanism
1. Planet gear
2. Input shaft
3. Solar gear
4. Gear ring
There are two sets of multi-disc wet clutches: one for forward and one for backward. Each group of clutches has three friction plates with a total of six friction surfaces. The hydraulic system controls the clutch to enable the vehicle to move forward smoothly when the throttle valve is in any open degree. When drive gear is engaged, controls the clutch engagement quantity to enable the vehicle to stop. Cooling oil directly cools the clutch plate to prevent the friction surface from overheating.

Clutch in planet mechanism
1. Forward clutch group 2. Backward clutch group
The main design feature of the CVT transmission is a pair of V-shaped bevel gear connected by a steel belt. The center distance between the drive gear and the driven gear is 155mm. Each bevel gear is divided into two half: one half is fixed, the other half slides along the axial direction, the inclination angle of both are 11°. The 24mm wide "Van Doorne" push-drive belt is used to transfer torque between wheels (a 30mm belt is available for larger torque values). Lubricate and cool the belt with a nozzle by means of an oil jet. To reduce the angle error of the transmission belt when shifting gears, two moving half-wheels are placed on the diagonal of the two, and each moving half-wheel is connected to the hydraulic cylinder/piston. Hydraulic pressure is controlled by control system, see "control system". Spherical splines prevent moving the half wheel relative to their fixed half wheel rotation.
Since the sun wheel is splined to the active cone wheel, the torque transmitted by the planetary gear set can be directly applied to the active cone wheel. The steel belt transfers power from the driving cone to the driven cone, and then from the driven cone to the intermediate gear shaft.
The torque and speed of the driven wheel are determined by the position of the belt. The size of the two wheels is designed to provide a transmission ratio of 2.416:1 ~ 0.443:1, with the maximum transmission ratio 5.45 times of the minimum one. The fuel consumption is lowest when overspeed transmission ratio.
The transmission steel belt consists of 450 steel plates and 24 steel belts fixed together with 12 steel belts on each side.

The drive belt
1. Steel belt 2. Steel plate
The countershaft (pinion shaft) decelerates the two meshed helical gears between the driven cone and the differential, thus ensuring that the drive shaft rotates in the correct direction. The deceleration between driven cone wheel and driving shaft greatly improves vehicle performance. The countershaft is fixed by two conical bearings located in the clutch housing and the independent bearing housing.

Gear ring and intermediate gear
1. Driving bevel shaft transmission gear
2. Differential crow gear
3. Transmission pinion
4. Transmission intermediate gear
5. Driven cone shaft gear
Like the manual transmission, the torque on the crown wheel is transmitted to the wheels through the differential, the crown wheel is bolted to the differential housing by eight bolts, and the drive shaft is bolted to the differential by the traditional ball-cage universal joint and gasket. Taper bearing is used to fix the differential.

Differential assembly
1. Differential bearing
2. Differential shell
3. Differential spider
4. Differential planet gear
5. Differential crow gear
· The transmission ratio number of traditional planetary automatic transmission is limited, usually four, five or six; but the CVT is
different, as the name suggests, CVT transmission ratio is continuous change. Low speed gear (low transmission ratio) makes it easier for a stationary vehicle to start. The diameter of the drive bevel gear is relatively small, but that of the driven bevel gear is relatively large. The belt is used to transmit power and torque. If the high-speed ratio is selected by increasing the diameter of the drive bevel gear and reducing the diameter of the driven bevel gear, the acceleration can be generated. Ensures optimum transmission ratio by controlling the degree of variation.
CVT transmission has two rotating gears of drive bevel gear and driven bevel gear, each bevel gear is composed of two halves, one half is fixed, the other half can be moved by hydraulic control. The position of the belt on the runner determines the transmission ratio. If the moving half wheel is close to the corresponding fixed half wheel, then the belt will move towards its periphery. When the two cone wheels are separated, the circumference of the wheel will become smaller, and the moving half wheel of the active cone wheel and the driven cone wheel are in their respective diagonal positions. At this time, the radius of the driving belt on the active cone wheel reduces, while the radius of the driving belt on the driven cone wheel increases.
A low transmission ratio is required for a vehicle to start. For this reason, the driving cone wheels are separated so that the belt is attached to it and the belt moves around the closed driven cone wheel. When the vehicle speed increases, a high transmission ratio is required. For this reason, the moving half wheel of the active cone wheel gradually approaches the corresponding fixed half wheel, and the wheel circumference of the cone wheel increases. At the same time, the driven cone wheel is forced to separate, and the radius decreases, resulting in a higher transmission ratio. When the driving cone wheel is completely closed and the driven cone wheel is completely separated, the transmission ratio of overdrive gear is produced. The drive and driven bevel gear rotate at a transmission ratio of about 1:2.5.
Belt pulley position when in low gear
Belt pulley position when in high gear

1. Engine input
2. Output to the wheels
3. Min diameter driving wheel (low speed)
4. Max diameter driven wheel (low speed)

1. Engine input
2. Output to the wheels
3. Min diameter driving wheel Max diameter driven wheel
· Gear selecting handle is in neutral or parking position
· In this state, reversing clutch (2) and forward clutch (4) separates, can’t make the wheel move.
- Transmission input shaft (1) and
engine speed are the same.
- Backward clutch (2) separates.
- Forward clutch (4) separates.
- Planet gear (3) idle running around sun gear
- Sun gear not move, drive gear (5), driven gear (7) and the vehicle
also keep still.
For all automatic transmissions, the engine can only be started in neutral or in park gear. In parking gear, the mechanical lock prevents the vehicle from moving back and forth. In order to avoid damage to the transmission, the parking gear can only be used when the vehicle is not moving.
1. Input shaft 5. Drive gear
2. Backward clutch 6. Driven steel belt
3. Planet gear 7. Driven bevel gear
4. Forward clutch
· Gear selecting lever is in
forward gear, in this state, the forward clutch (4) engages to make the wheels
move.
- Transmission input shaft (1) is the same with the engine speed.
- Reversing clutch (2) separates.
- Forward clutch (4) engages
- Planet gear (3) of planet mechanism, sun gear and gear ring rotate together.
- Drive gear (5) is the same with the engine speed, the direction is forward gear direction.
- Driven gear (7) is the forward gear direction, its speed depends on the transmission ratio in this running state.
1. Input shaft 6. Drive steel belt
2. Reversing clutch 7. Driven cone shaft
3. Planet gear 8. Driven bevel gear
4. Forward clutch 9. Input shaft
5. Drive bevel gear
· Gear selecting lever is in reversing gear, in this state, backward clutch (2) engages, gear ring (9) is locked in transmission housing. Planet gear (3) makes the
rotating direction of sun gear (10), drive gear (5) and driven gear (7) be opposite to the transmission input shaft (1). Now reversing gear is selected.
- Transmission input shaft (1) is the same with the engine speed.
- Reversing gear (2) separates.
- Forward clutch (4) separates.
- Gear ring (9) connects to transmission case through backward clutch (2).
- Direct transmitting planet gear (3) of transmission input shaft (1) make it rotate around the gear ring, thus drive the sun gear (10), belt gear
(5) and driven cone gear (7) rotate backward.
1. Input shaft 6. Drive steel belt
2. Backward clutch 7. Driven cone shaft
3. Planet gear 8. Driven bevel gear
4. Forward clutch 9. Gear ring
5. Drive cone gear 10. Sun gear
The functions of control system are as follows:
1. Make the clamping force of the steel transmission belt tension adapt to the engine torque to prevent the belt from slipping.
2. Control the forward clutch and the backward clutch while driving.
3. Provide the best transmission ratio for driving.
4. Provide the necessary lubricating oil and cooling oil for the transmission.
The oil pump in the transmission is the external engaging gear pump. The engine drives the oil pump shaft, which reaches the inside of the oil pump through the hollow drive bevel gear shaft. The pump shaft is splined to the planetary gear rack. The pump shaft has been running at the engine speed. The pump oil is about 10cm³. System pressure up to 40~50bar depending on input torque.
Oil pressure is not only used for hydraulic control of the transmission, but also for lubrication.
Oil pump full figure

1. Oil pump drive shaft 2. Oil pump assembly

Oil pump inlet
1. Oil pump inlet 2. Oil pump seal
The transmission control device minimizes the tension between the belt and the runner without slipping, and also provides the transmission ratio based on the target values given by the driving strategy (calculated based on the input (drive) and output (driven) speeds of the transmission). During the service life, the performance degradation of the control device will be kept within a certain range without obvious impact on vehicle comfort and belt tension.
The tension control device can obtain the required minimum tension force when the belt is not slipping, which has the least impact on the transmission transmission efficiency and the lowest fuel consumption.
In addition to normal driving, the tension control device also takes into account the special circumstances of transmission torque maximum input and output, so as to maximize the protection of the transmission. The control device takes into account anti-lock braking system (ABS), tire lock (no ABS) and other driving force control system (such as ESP, anti-slipping control device, etc.). In addition, the device also takes into account special roads and
conditions, such as passing through pot-holed road, road shoulder, high and low adhesion coefficient transition, and tire slip (such as on low adhesion coefficient road). The software can compare the transmission performance of the transmission torque with the expected input torque of the transmission. When the tension control device finds that the tension force is insufficient, the ECU receives the instruction to reduce the torque, so as to adjust the engine torque within the appropriate range. This function also protects
the transmission.
If there is no electronic drive circuit system in the vehicle, the ECU transmits the torque signal through the CAN bus. If there is no CAN bus, the transmission control system (TCU) software itself generates the default torque signal.
The transmission controls the transmission ratio by controlling the input and output pressure to balance the pressure on the drive and driven bevel gear. The transmission ratio can be calculated according to the speed sensor signals of the drive bevel gear and the driven bevel gear, and the required transmission ratio can be obtained by changing the output pressure. The minimum pressure can be determined by the tensioning method. The physical model of the transmission helps to quickly adjust the pressure level to the variable operating point. The control software also considers the interference from other components of the transmission, so it was developed to minimize delay errors and target speed ratio errors as possible(to improve fuel economy).
In order to meet the requirements of transmission machinery and durability limit state, we developed some driving strategies in limit state. In addition to the speed limit, the rate of change of the transmission ratio (the set point) is within the allowable range through the software. In addition, the software also prevents the engine speed from exceeding a certain limit due to the vehicle speed and the condition of the gear lever (POS). To achieve this limitation, the software will require a reduction in engine torque or a shift of the vehicle into higher gear.
The software controls transmission is integrated in TCU (Transmission Control Unit). TCU is installed inside the cab.
There are two oil cooler pipes in front of the transmission housing. The inlet of one oil cooler is installed next to the engine radiator, to keep the temperature of the lubricating oil below 120 °C. The oil in the transmission flows out from the right port, which should be connected to the lower port of the oil cooler.
The oil of the oil cooler enters into the transmission from the port on the left side of the transmission, so the port on the left side of the transmission should be connected to the upper port of the oil cooler.
oil
cooler Outlet Flow
direction Flow
direction Inlet

Oil cooler pipe connector
The gear position of VT3 transmission may include stop gear (P), reverse gear (R), neutral gear (N), forward gear (D), and sport mode (S).
Customer can customize the configuration of the shift lever. For the sake of safety, it is recommended to apply gear shift locking device as starting protection.
CVT transmission can also achieve manual mode, which requires the addition of new pins on the TCU to receive signals, and the calibration of the maximum speed of the engine within a certain range. All JAC CVT transmissions have manual mode.
Main connector is on transmission housing, includes 16 pins. The wiring harness connects through circular connector.

Most conventional automatic transmissions use a torque converter to connect the engine to the input shaft, but this one uses a torsional shock absorber.
Vehicle equipped with VT2 or VT3 transmission cannot be directly towed, because only when the engine is running, oil pressure can be generated in the cone wheels and the transmission belt can run. Therefore, the front wheel must be lifted from the ground when towing.
Every 60,000km or two years (whichever is the first), the transmission oil and oil filter must be replaced. Therefore, the transmission is equipped with oil drain plug and refueling screw plug. Vehicle manufacturer can reduce the transmission maintenance period, so that it can match the vehicle’s standard maintenance period.
Please use MOBIL(ESSO) EZL799(A) or IDEMITSU CVTF-EX1, the two types oil can be mixed, but it’s not advised.
The use of other oil may result in damage to the interior of the gearbox. Once other oil is used, this gearbox cannot be claimed.
Risks of switching to CNG:
-- the vehicle will have a different or unstable torque diagram, which will result in:
• different performance
• very poor driving response
• generate fault codes
• clutch movement problem
• self-learning problems
• steel belt slips
PUNCH does not allow vehicles to be changed to other fuel systems: CNG, LPG,...PUNCH immediately discontinued this gearbox warranty as soon as the vehicle was fitted with another fuel system.
|
No. |
Project |
Parameter |
|
1 |
Transmission |
VT3 |
|
2 |
Type of lubricant oil |
MOBIL(ESSO) EZL799(A)/DEMISTU CVTF-EX1 |
5. Torque parameters
|
No. |
Project |
Tightening Torque (N · m) |
|
1 |
Oil filler plug |
21±3 |
|
2 |
Driven bevel wheel shaft end cover countersunk screw |
9.5±0.95 |
|
3 |
Drive cone gear shaft nut |
197.5±17.5 |
|
4 |
Oil pump bolt |
10±1 |
|
5 |
Driven bevel gear shaft end cover bolt |
9.5±2.5 |
|
6 |
Oil pan bolt |
9±1 |
|
7 |
Speed sensor fixing bolt |
8.5±2 |
|
8 |
Speed sensor bracket fixing screw in differential |
9.5±0.95 |
|
9 |
Valve bolt |
11±1 |
|
10 |
Oil drain screw plug |
11±1 |
|
11 |
Driving mode sensor fixing screw |
9.5±0.95 |
|
12 |
Oil level screw plug |
15±2.25 |
|
13 |
Gear shifting handle nut |
14.5±1.5 |
|
No. |
Tool No. |
Tool name |
Tool illustration |
Usage |
|
1 |
16G0049 |
Drive bevel gear shaft bearing plug |
|
Remove the drive bevel gear bearing |
|
2 |
16G0043 |
Assembly tool of gear shift shaft oil seal |
|
Install gear select shaft oil sealing |
|
3 |
16G0050 |
Drive bevel gear shaft bearing punch |
|
Install the drive bevel gear shaft ball bearing |
|
4 |
16G0048 |
Drive bevel gear shaft bearing removal tool |
|
Remove the drive bevel gear shaft ball bearing |
|
5 |
16G0041 |
Assembly tool of input shaft oil seal |
|
Install the input shaft oil seal |
|
6 |
16G0040 |
Input shaft oil seal locating bushing |
|
Install the input shaft oil seal |
|
No. |
Tool No. |
Tool name |
Tool illustration |
Usage |
|
7 |
16G0042 |
Disassembly tool of gear shift shaft oil seal |
|
Remove the gear select shaft oil sealing |
|
8 |
16G0046 |
Locating pin of hydraulic control module |
|
Install the hydraulic control block |
|
9 |
16G0038 |
Differential oil seal installation tool |
|
Install the differential oil seal |
|
10 |
16G0045 |
Oil pump removal tool |
|
Remove the oil pump |
|
11 |
16G0044 |
Air pipe assembly tool |
|
Install the respirator hose |
|
12 |
CVT-HDFJ-1 |
N gear installation auxiliary tool |
|
Limit the transmission gear shift rocker arm position |
1. Function Characteristic of Parking and Neutral Gear
No matter what kind of transmission, the engine can only be started in the parking and neutral state. The mechanical lock in the parking gear prevents the vehicle from moving back and forth. Had better be in vehicle static condition uses parking gear, in case injury transmission.
If you accidentally use the parking gear when the speed is high, the parking device can only work if the speed is reduced to about 5km/h.
When the vehicle starts up, TCU will control the starting relay, and the starting relay can control to start the engine. The vehicle's gear is controlled by an internal driving mode sensor, which is connected directly to the gearshift lever. To shift parking (P) or neutral (N) to drive (D) or reverse (R), the brake pedal is pressed. If the brake pedal is not pressed, the gear lever remains locked in either P or N.

Parking lock mechanism
1. Parking stop pawl 2. Driven cone wheel
When driving, the operation of this transmission is completely different from that of traditional automatic transmission, so you should pay attention to adapt. Example: If you press the accelerator pedal too hard, the engine speed will increase obviously, but the speed will not change much. This feature is normal for CVT transmission, but if the driver does not know about the transmission, it may be mistaken for a faulty gearbox.
Other analogies to traditional automatic transmissions may also exist.
Whether forward or reverse, the corresponding clutch should be calibrated again to achieve the best effect in its service life.
According to the performance of automatic transmission, when the shift lever is in forward gear (D) or reverse gear (R), if the driver releases the brake pedal, the vehicle will start crawling (flat road). If the road slope is less than 8 °, the vehicle also can crawl; If the road slope is greater than 8 °, the vehicle will be slightly backward, which is the same with the vehicle equipped with hydraulic torque transmission, it will not backward if the slope degree is not large. Regardless of the slope of the road, the maximum speed at which the vehicle climb will be less than a limit (8kph). Especially downhill, the control system will allow the clutch to switch from separation to "engage" mode, allowing the engine to brake during the glide.
The VT3 transmission can idle stop. The vehicle (battery status, A/C ON/OFF) and the transmission (without affecting the transmission durability) can idle stop under certain conditions. If all conditions are met, the internal combustion engine can stop at rest. Only when the brake pedal is released and the engine starts up again and the transmission works quickly can the vehicle move forward and backward.
The idle stop feature is particularly useful for hybrid drives, but is useless for standard drives without a special starter or starter motor.
The acceleration process mainly provides acceleration according to the driver's requirements and driving conditions. At this time, the change trend of engine speed corresponds to the initial speed, so as to achieve the best driving comfort.
The clutch controller also provides some means of compensating for the difference in clutch wear (it differs between different vehicles) to ensure driving comfort.
In order to achieve optimal driving comfort, it is necessary to determine the most appropriate engine speed, which is between the minimum traction engine speed and the engine speed when the vehicle maintains a constant speed (economic speed) cruise state.
The transmission control system provides functionality to meet these requirements by using a combined control mode between the transmission (ratio control) and the starting clutch. Therefore, when the vehicle starts, the control target is always focused on the driving performance of the higher engine speed related to the acceleration of the vehicle, while when the vehicle cruises or glides, the control target is transferred to the fuel economy of the transmission system.
If the driver presses the brake pedal at the same time as the accelerator pedal, the engine speed will be limited to a certain range (similar to the torque converter). Therefore, the gearbox needs to be combined with the engine control system to block torque so that the gearbox can react quickly to the driver's sudden release of the brake pedal and start to control the clutch. Long-term use will cause high temperature loss of the clutch, the transmission also has the risk of damage, so we use the monitoring function to
detect these dangerous conditions. Activate the transmission's internal diagnostic system to open the clutch. If the driver keeps his foot on the gas pedal, the engine will rise up to its maximum speed. In addition, the clutch controller can also follow the highest control goal in other cases, to ensure the original safety and improve the driving comfort.
When the vehicle decerates to stop, the clutch is separated again to prevent the engine from stopping. The clutch pressure is controlled to drop steadily to gradually separate the clutch, so as not to cause torque fluctuations. Therefore, the controller provides different modes according to the change of speed to separate the clutch. The clutch pressure control also controls the power of the hydraulic control system according to the oil temperature of the transmission. The clutch can be quickly ready to start after separation.
In order to make the driving comfort optimal during the vehicle braking and starting process, the transmission software and other transmission control device work together, this role makes the torque transmission temporarily interrupted, idle speed increase.
If the clutch is not used while driving, the transmission controller has little effect on the comfort of driving, as the absence of the clutch has nothing to do with the characteristics of the hydraulic system. In such case (low load, stopping, low engine speed), the driving comfort may be reduced when the clutch is applied again compared with when the clutch is applied in the stationary state.
When the software detects a system error, the default rule is applied.This is transmitted to the drive through the instrument group's fault display. The driver will take a different default driver state depending on the severity of the error. In some cases, the main relay will be turned on. All fault codes will appear on the OBD.
The following oil level check should be carried out whenever draining the transmission oil or replacing new transmission. There is no oil in the transmission as service part, and after being installed on the vehicle, it need to add 4.5±0.05L ESSO EZL799(A) or
Idemistu CVTF-EX1 oil, please add oil and check the oil level according to the following methods. 1. Shift the operation lever to P gear position.
2. Remove the oil filling plug (3) on the top.
3. Ensure that the oil drain plug (1) is assembled.
4. Fill 4.5±0.05 L transmission oil Esso EZL 799A to the transmission oil from the oil filling plug (3) on the top.
5. Reinstall the oil filling plug (3). Tightening torque (M14) : 21N·m.
6. Step the brake pedal.
7. Start the engine.
8. Run the engine for 10 seconds.
9. Shift the shift lever away from P gear position.
10. Note: the sound of air circulating through the system may be heard at the initial start-up. This is normal operation.
11. Switch the operation lever to each gear (P-R-N-D) and remain in each gear for 5 seconds before switching to the next gear.
12. Shift the operation lever to D gear position.
13. Release the brake pedal.
14. Step lightly on the accelerator pedal to 60km/h (engine speed must not be higher than 2500rpm).
15. Release the accelerator pedal and tap the brake brake until the vehicle stops.
16. The above two steps should be performed at least twice.
17. Driving around at least 5 minutes (hope temperature rises from 30 ℃ to 50 ℃).
18. Step the brake pedal.
19. Wait for 2 seconds.
20. Shift the operation lever to R gear position.
21. Release the brake pedal.
22. Wait for 10 seconds.
24. Wait for 2 seconds.
25. Shift the operation lever to N gear position.
26. Keep the engine idling.
27. The engine must be running and the lever must be in N gear.
28. Check the oil temperature: must be between 30 ℃ to 50 ℃.
29. Wait 2 minutes until oil level stabilizes.
30. Remove the oil level plug (2) (the engine is still running).
31. Wait a few minutes until the oil drips off from the oil level plug.
32. Reinstall the oil level plug.
33. Tighten oil level plug (tightening torque (M14) : 21N·m).
34. Stop the engine and shift the lever to P gear position.
If the initial oil filling is correct, the oil level should be in the correct position (oil level bolt position). Normal allowrance (such as new transmission residual oil and production line fueling allowrance) should be oil level bolt position, oil level can be ±0.165L.
1. Check the oil level of the transmission
1) Remove the oil filling bolt on the upper end of the transmission.
2) Add accurate 0.5L±0.05L oil to the transmission.
3) Install the oil filling screw plug. Tightening torque 18~4N·m.
4) Starting the engine to make transmission temperature rising to about 60 ℃.
5) Place the vehicle on the flat ground.
6) Press the brake pedal, and wait 2 seconds, and then shift to P gear position.
7) Keep the engine idling running.
8) Remove the oil level inspection bolt when the engine is idling.
9) Release the oil accurately (0.335L at least, 0.665L at most)
Min of 0.235L (0.5 ADDED oil-0.165 tolerances - 0.1L = 0.235L) oil will flow from the gearbox, and if less than that, the original oil level is too low.
Max of 0.565L (0.5 ADDED oil+ 0.165 tolerances - 0.1L = 0.565L) oil will flow from the transmission, and if less than that, the original oil level is too high.
▲Note: All data comes from when the transmission oil temperature is 60 ℃.
10) Install new gaskets and tighten oil level bolts. Tightening torque 18~24N·m
11) Stop the engine.
Oil draining bolt (1) Oil level bolt (2)

Oil filling screw plug (3)
|
1 |
CVT-HDFJ-1 |
N gear installation auxiliary tool |
|
2.2 Gear Shift Pull Rode Assembly
This procedure describes how to correctly connect the gearshift lever. Failure to follow this instruction may result in transmission gear disorder. The dashboard will always show the transmission gear status regardless of the gear lever position. A precise
shift wire drawing installation allows the instrument panel and shift lever to indicate the same shift status (PRND). If replacing the gear shift control mechanism, select &shift gear pull cable, pull cable bracket, shift rocker arm and sleeve, pull rod assembly, transmission
or other components that affect the transmission gear shifting operation control, they must be re-adjusted, otherwise there will be a shift disorder or even cause the vehicle can not run and other faults. The removal and adjusting method are as shown below:
2.2.1 Disassembly and Assembly of Shift Control Mechanism System Component
Rear
suspension support Gearbox
assembly
1) Replace pull cable bracket,
first loosen the gear shift&select pull cable and shift rocker arm, make the
pull cable
Shift rod Shift
rocker arm Select
-shift pull cable
Separate from
the rocker arm, and separate the pull cable from pull cable bracket, and then
replace the pull cable bracket. Assembly of pull cable:
2) Replace gear shift rocker arm and shift rod
▲Note: ① Consider the operating space, before replacing the "gear select&shift pull cable assembly", put the shift lever to the P gear position, and then take down the pull cable and
transmission control mechanism connection end, but put the shift lever to the P gear position again before installing the pull cable. ② Before replacing the other parts, must ensure that the gear shift control mechanism gear lever in the P gear position; ③ Connect the gear select&shift pull cable to the transmission gear select rocker arm by bolts and nuts (when tightening the nuts, must not bend the transmission gear shift rocker arm or pull cable).
A. Disconnect the gear
select&shift pull cable and the gear shift rocker arm.
B. Loosen the rocker arm fixing bolt Q1840830F61 (pay attention to the rocker arm sleeve)
C. Loosen the transmission end pull rod fixing nut Q32008F61L D.Disconnect the gear select rocker arm and gear select pull rod
E. Connect the gear shift rocker arm and gear shift pull cable ball
F. Tighten the gear shift rocker arm and transmission
(Q1840830F61), tightening torque:20~28Nm
G. Shift gear forward and backward, relieve stress, and shift to P gear position at last
H. When the gear shift pull rod is fixed connected to the transmission, the gear shift pull rod lock is unlocked. Pay attention to the control mechanism and transmission swing arm in P gear position, tighten the nut Q32008F61L in P gear position, the tightening torque is 20~28Nm, and finally press the gear shift pull rod lock to lock the pull rod.
Ball
joint decorative ring Ball
joint
3) Replace the gear select &
shift pull cable assembly
Auxiliary
dashboard assembly Gear
shift control panel
a—Put the gear
shift lever to the N gear position, remove the protective guard (the protective
guard is connected to the auxiliary dashboard by buckles), and clockwisely
rotate the gear select&shift ball joint decorative ring. After the
decorative ring is shaken, pull out the gear select& shift ball joint with
force.
b—Remove the auxiliary dashboard
c—Disconnect the pull cable and operating mechanism
d—Loosen the 2 M8 nuts on the vehicle body (Q32008F61)
Ball
joint
e—Disconnect the pull cable and the
gear shift rocker arm
Gear
shift control panel Ball
joint decorative ring
f—Disconnect
the pull cable and transmission with rear suspension
g—Pass the new gear select&shift pull cable assembly into the cabin through the engine compartment.
Auxiliary
dashboard assembly
h—Tighten the 2
M8 nuts (Q32008) on the front wall of the vehicle body Tightening torque is
20~28Nm
i—Connect the cable joint (at transmission control mechanism end) to the pin shaft of the transmission control mechanism.
j—Install the pull cable damper in place
k—Install the pull cable and suspension bracket in place.
1—Install the pull cable and rocker arm in place.
1) Replace the shift control mechanism assembly
—Put the shift lever to P gear position, and operate according to the pull cable maintenance steps a-b-c
—After finish step c, remove the 4 fixing bolts Q146B0830TF38, and take down the shift control mechanism
—Install the gear shift control mechanism tightening torque is 20~28Nm
—Connect the cable joint (at transmission control mechanism end) to the pin shaft of the transmission control mechanism.
—Install the pull cable damper in place
When installing the half-shaft to the full transmission, we strongly recommend using PUNCH 480145 tool to protect the differential oil seal. If the differential shaft is damaged, the transmission will inevitably leak oil. Using special tool will significantly reduce the chance of oil seal damage.
1) Remove the oil seal protective cover.

2) Install the tool on the half-shaft oil seal and install it well.

3) Put the half-shaft into the transmission at a maximum depth of 4cm.

4) Put the half-shaft into the transmission at a maximum depth of 4cm, with a distance of 2cm between the half-transmission and the tool.

5) Take down the tool

4) Fully push the half shaft into the transmission, and the installation of half shaft finished.

There is oil seal damage or oil leakage, half shaft damage or oil leakage.
|
1 |
480143 |
Differential oil seal installation tool |
|
4.3 disassemble
1. Discharge the transmission oil.
2. Remove the half shaft. Refer to the drive shaft.
3. Remove the differential oil seal.
1) Use large flat screwdriver to pry out the oil seal.
▲Note: Be careful not to put the flat screwdriver too deep to protect the shell.
1. Install the differential oil seal
1) Put the new oil seal to the shell.
2) Put the special tool 16G0038 on
the oil seal and hammer it into the shell with rubber hammer to ensure the
installation in place.
▲Note: The depth of the oil seal should be 3mm±0.3mm from the shell edge.
2. Install the half shaft.
3. Fill the transmission oil.
Input shaft oil seal damage or oil leak.
|
No. |
Tool No. |
Tool name |
Tool illustration |
|
1 |
16G0041 |
Assembly tool of input shaft oil seal |
|
|
2 |
16G0040 |
Input shaft oil seal locating bushing |
|
5.3 disassemble
1. Discharge the transmission oil.
2. Remove the transmission assembly. Refer to the transmission assembly.
3. Remove the input shaft oil seal.
1) Remove the oil seal from the shell with large flat screwdriver.
▲Note: Pry along the middle of the oil seal to the outside, must be very careful, or it will damage the transmission input shaft.
1. Install the input shaft oil seal.
1) Place the oil seal locating bushing 16G0040 on the input shaft.
2) Place the new oil seal on the locating bushing.

3) Put the special tool 16G0041 on
the input shaft, hit the special tool with a rubber hammer and install it in
place.
2. Install the transmission.
3. Fill the transmission oil.
Gear select shaft oil sealing leaks oil.
|
No. |
Tool No. |
Tool name |
Tool illustration |
|
1 |
16G0043 |
Assembly tool of gear shift shaft oil seal |
|
|
2 |
16G0042 |
Disassembly tool of gear shift shaft oil seal |
|
1. Discharge the transmission oil.
2. Remove the transmission.
3. Remove the gear select shaft
lever.
4. Remove the gear select shaft oil seal.
1) Put the special tool 16G0042 on the shift shaft, and screw the special tool into the oil seal with wrench.
▲Note: Press the top of the wrench so that special tool screw into the oil seal.
2) Turn the bolt on the special tool with the tool to pull the gear select shaft oil seal out of the shell.

3) Rotate the small bolt to pull out the oil seal.


1. Install the gear select shaft oil seal.
1) Apply vaseline or lubricating grease to the tip of the oil seal punch 16G0043.
2) Install the new oil seal lightly on the punch 16G0043.

3) Put the special punch 16G0043 with oil seal on the gear shift shaft and tap with a hammer until it is installed in place.
4) Take out the punch 16G0043.
▲Note: Rotate and pull the punch out, or else it may cause the oil seal and the punch be pulled out together.
2. Install the gear select lever, and tighten the nut with new washer and nut, torque 14.5N·m±5N·m.
3. Install the transmission.
4. Fill the transmission oil.
Drive bevel gear end cover leaks oil
1. Dischrage about 1L oil from the transmission (see replacing the oil filter).
2. The transmission does not need to be removed from the vehicle. It is easier to replace the engine and transmission if they are placed together.
3. Remove the bolt and remove the clasp. Remove the cover with a larger flat screwdriver, and place a cloth pad under it to prevent damage to the transmission housing.
4. Remove the end cover with a larger flat screwdriver and put a piece of cloth under it to prevent damage to the ring transmission housing.
5. Remove the larger type O-ring and throw it away with the end cover.

1. Install a new O-ring.
2. Replace a new end cover and tighten the bolt and buckle. Torque: 9.5N·m±2.5N·m.
3. Fill 1L oil into the transmission.
If the transmission pressure is found to be too low or the driving process vibration or abnormal phenomenon, there are two important components can cause this problem: oil pump and hydraulic control block. Use the fault code to determine which one needs to be replaced. In most cases it is not completely clear which one is the problem, just replace one by one to see whether the problem is solved.
|
No. |
Tool No. |
Tool name |
Tool illustration |
|
1 |
480141 |
Oil pump removal tool |
|
8.3 disassemble
1. Remove the end cover according to the sequence of replacing the drive bevel gear end cover.
2. Remove the 6 bolts from the oil pump and put the special tool on the oil pump shaft.

3. Pull out the oil pump with special T-tool (480141).
4. When replacing new oil pump, it must be confirmed that two new 0-rings are put on the new oil pump. Be careful not to pull out the conical return spring, and make sure the larger end is facing to the oil pump.

- 42 -
1. Install oil pump
1) When installing the new oil pump, make sure to put two new O-rings on the new oil pump.
▲Note: Do not take out the conical return spring, and make sure the larger end is facing to the oil pump.
2) Reinstall the 6 bolts, and tighten them with the
torque of I0N·m+/-IN·m.
3) Put the end cover back according to the steps, do not replace the O-ring and end cover.
▲Note: Do not replace the O-ring and end cover.
3. Install the transmission
4. Fill the transmission oil.
Replace the drive bevel gear shaft ball bearing if it wear out. A worn drive bevel gear shaft ball bearing will have large noise, and the noise varies with engine speed. So if you change from D gear to manual mode at constant speed and the noise suddenly increases, it is very likely that the bearing is damaged. Because after changing to manual gear, the speed remains the same but the engine speed increases.
|
No. |
Tool No. |
Tool name |
Tool illustration |
|
1 |
16G0049 |
Drive bevel gear shaft bearing plug |
|
|
2 |
|
Drive bevel gear shaft bearing punch |
|
|
3 |
16G0048 |
Drive bevel gear shaft bearing removal tool |
|
|
4 |
16G0047 |
Drive bevel gear shaft big nut removal and installation sleeve |
|
9.3 disassemble
1. Discharge the transmission oil.
2. Remove the transmission.
3. Remove the drive bevel gear shaft end cover. Refer to the drive bevel gear shaft end cover.
4. Remove the oil pump. Refer to
the oil pump.
5. Remove the drive bevel gear shaft ball bearing.
1) Take out the conical return spring.
2) Mark the shaft and nut.
3) Remove the nut with the special sleeve.
4) Remove the dust cover from the bearing with flat screwdriver.

5) Put the protection plug on the shaft.

6) Assemble bearing removal device (16G0048), and hook the outer ring of the bearing with its foot.

7) Tighten the middle bolt to pull out the bearing.

1. Install the drive bevel gear shaft ball bearing
1) Clean the sealant of the drive bevel gear shaft and oil pump drive shaft lock belt, and oil pump chamber.
2) Put the new bearing in place and install it with a special punch (16G0050).

3) Knock the punch into place with a rubber hammer.
4) Tighten the nut so that the mark
on the shaft coincides with the mark on the nut. Standard coincidence degree
±5°
5) Install the conical return spring.
2. Install the drive bevel gear shaft end cover.
▲Note: Do not replace the O-ring and end cover.
3. Install the transmission.
4. Fill the transmission oil.
▲Note: The larger end of the diameter is toward the oil pump.
Driven bevel gear shaft end cover damaged or leaks oil
1. Remove the driven bevel gear shaft end cover.
1). Remove the 4 countersunk screws.
2) Take down the two O-rings and the one sealing ring on the end cover.

1. Install the driven bevel gear shaft end cover.
1) Install the two O-rings and the one sealing ring on the end cover.
2) Clear the thread glue in the 4 screw holes on the shell.
3). Tighten the 4 screws. Tightening torque 9.5±0.95N·m.

Oil pan damaged or leaks oil
1. Discharge the transmission oil.
2)Remove the oil pan.
1) Install the 13 bolts on the oil pan.

1. Install the oil pan.
1) Install the new oil pan and gasket.
2) Install the oil pan bolts according to the sequence as shown in the picture.
▲Note: Use new bolt gasket. Tightening torque 9.5±1N·m.
2. Fill the transmission oil.

Oil filters should be replaced at least every 60,000km or 2 years (whichever comes first), and the period can be reduced according to the standard of each manufacturer.
1. Discharge the transmission oil.
2. Remove the oil pan. Refer to the oil pan.
3. Remove the oil filter.
1) Take out the oil filter slightly and abandon it.

1. Install the oil pan.
1) Install oil filter with a new O-ring, and lubricate it with ESSO EZL799 (A).
2) Gently press the oil filter in place.
▲Note: The hole in the middle of the oil filter is
matched with the middle bolt on the hydraulic control block.
3) Clean the magnet and the oil pan.
2)Install oil pan.
3. Fill the transmission oil.
The fault code should display the fault of the driving mode sensor, replace the driving mode sensor.
1. Discharge the transmission oil.
2. Remove the oil pan. Refer to the oil pan.
3. Remove the oil filter. Refer to the oil filter.
4. Remove the driving mode sensor.
1) Remove the 2 screws on the driving mode sensor.

2) Carefully take down the driving mode sensor from the hydraulic control block.
▲Note: Behind the sensor is a small pin with hydraulic pressure. The metal slider on the control block is fixed together, pressing the sensor down to release the pin from the slider.

3) Use flat screwdriver to open the lock on the sensor joint, and press the white lock to separate the joint.

1. Install the driving mode sensor.
1) Take a new sensor, connect the connector, and press the white lock button inside to lock it.
2) Put the pin behind the sensor on the metal slider and install it in place.
3) Move the sensor to expose the bolt hole.
4) Tighten the 2 fixing screws. Tightening torque 9.5±0.95N·m.
2. Install the oil filer.
3) Install the oil pan.
4. Fill the transmission oil.

If the transmission pressure is found to be too low or the driving process vibration or abnormal phenomenon, there are two important components can cause this problem: oil pump and hydraulic control block. Use the fault code to determine which one needs to be replaced. In most cases it is not completely clear which one is the problem, just replace one by one to see whether the problem is solved.
|
No. |
Tool No. |
Tool name |
Tool illustration |
|
1 |
16G0046 |
Locating pin of hydraulic control module |
|
1. Discharge the transmission oil.
2. Remove the oil pan. Refer to the oil pan.
3. Remove the oil filter. Refer to the oil filter.
4. Remove the driving mode sensor. Refer to the driving mode sensor.
5. Remove the hydraulic control module
1) Remove the bolts according to the sequence from 20 to 1 as shown in the picture.

2) Take out the hydraulic control module, and separate the

▲Note: Use flat screwdriver can easily take down the connector.

1. Install the hydraulic control module
1) Install the hydraulic control module in place and put a small pin behind the hydraulic control module in the correct position.

2) Ensure that the metal slide and the pin on the shift cam are installed rightly
3) Install the middle bolt and tighten it by hand.

4) Install the special tool 16G0046 in the bolt hole in the upper left angle.
5) Press the wire of the drive bevel gear speed sensor on the upper left corner of the hydraulic control module.

6) Install all the bolts of the
hydraulic control module and tighten them in the order from 1 to 20.
Tightening torque 11N·m.
2. Install the driving mode sensor.
3. Install the oil filter.
4) Install the oil pan.
5. Fill the transmission oil.
Judge the fault of this component by the fault code.
1. Discharge the transmission oil.
2. Remove the oil pan. Refer to the oil pan.
3. Remove the oil filter. Refer to the oil filter.
4. Remove the driving mode sensor. Refer to the driving mode sensor.
5. Remove the hydraulic control module. Refer to the hydraulic control module.
6. Remove the driven bevel gear speed sensor and bracket.
1). Loosen the sensor bracket bolts.
▲Note: This bolt is disposable.

2) Take out the bracket from the gear shifting shaft.

3) Remove the sensor and connector with needle-nosed pliers.
4) Loosen the bolts on the bracket and remove the speed sensor.

1. Install the driven bevel gear
speed sensor and bracket.
1) Install the new sensor and bracket, and tighten the fixing bolts.
2) Connect the wire, and clamp the bracket to the gear shifting shaft, and install it in place.
3) Use new bolt to fix the bracket. Tightening torque 9.5±0.95N·m.
2. Install the hydraulic control module
3. Install the driving mode sensor.
4. Install the oil filter.
5) Install the oil pan.
6. Fill the transmission oil.
Judge the fault of this component by the fault code.
1. Discharge the transmission oil.
2. Remove the drive bevel gear end cover. Refer to the drive bevel gear end cover.
3. Remove the drive bevel gear speed sensor.
1) Remove the fixing bolt, and take out the sensor.
2) Separate the wire and take down the sensor.
1. Intall the drive bevel gear speed sensor.
1) Install the new sensor, and tighten the bolt. Tightening torque 8.5±2N·m.
2) Connect the wire to the sensor.
2. Install the drive bevel gear end cover
3. Fill the transmission oil.
Judge the fault of this component by the fault code.
1. Discharge the transmission oil.
2. Remove the oil pan. Refer to the oil pan.
3. Remove the oil filter. Refer to the oil filter.
4. Remove the driving mode sensor. Refer to the driving mode sensor.
5. Remove the hydraulic control module. Refer to the hydraulic control module.
6. Remove the main connector and inner wire harness.
1). Separate the two speed sensor connector.
2). Take the wire connecting vehicle and main connector.

2) Take down the buckles on the main connector, and press the main connector into the transmission.

▲Note: Driving mode sensor connector is clamped on the housing, take down the connector first.
4) Take the whole main connector from the transmission.

1. Installthe main connector and inner wire harness
1) Take a new main connector, and put it into the transmission.

▲Note: The main connector is attached to the housing through a spline, and it’s easy to
press upward with a 45 degree nose clamp.
2) Install the buckle.

3) Press the driving mode sensor connector onto the housing.

4) Connect the speed sensor and connector.
2. Install the hydraulic control module
3. Install the driving mode sensor.
4. Install the oil filter.
5) Install the oil pan.
6. Fill the transmission oil.
|
No. |
Tool No. |
Tool name |
Tool illustration |
|
1 |
16G0044 |
Installation tool-breather pipe |
|
18.2 disassemble
1. Remove the engine intake pipe.
2. Remove the battery and bracket.
3. Remove the breather pipe.
1) Remove the clips from the top of the breather pipe and the transmission.
2) Clamp is placed at the connection between the shell and the breather pipe, and take down the breather pipe.
18.3 installment
1) Place the new breather pipe in the special tool (16G0044) and apply a little vaseline to the aluminum tube at the bottom of the breather pipe.
2) Place the breather pipe in the tool box on the shell and keep it parallel. Hit the tool vertically with the rubber hammer to make the breather pipe enter into the shell.
3) Put plastic clips 482253 on the breather pipe.
4) Insert the pin of the plastic clasp into the hole of the metal clasp 481456.

5) Install the metal clasp firmly on the reinforcing rib of the transmission housing.

6) Install the breather pipe cap 483117 on the pipe, and pay attention to the installation in place.
2. Install the battery and bracket.
3. Install engine intake pipe.
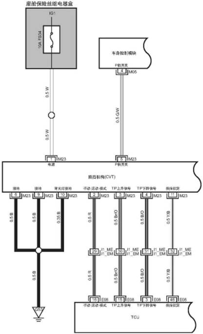
Chapter IV Electrical Schematic Diagram
Starting
lock Key lock Failure
indicator lamp Oil
pressure sensor Oil
temperature sensor Gear
shift lock Auxiliary
speed sensor 5(x7-2)
Actuator power supply Main
speed sensor Driving
mode sensor Shift
lever Snow mode
button Brake
light switch Engine
speed Pressure
solenoid valve Backlight
relay Input 4 Input 3 Input 2 P_Clutch Input 1

Transmission
interface Oil
temperature sensor Failure
indicator lamp Key lock Starting
lock relay Backlight
relay Gear
shift lock relay Transmission Speed
sensor&DMS-power supply Ground
sensor Temperature
sensor + Driving
mode sensor Communication Starting
lock relay Output Vehicle
interface Engine
speed (n_mot) Dig.Inp3
(pull up) Dig.Inp3
(pull up) Dig.Inp2
(pull up) Dig.Inp1
(pull up) Input Power
supply Variable Pressure
sensor clutch Pressure
sensor disc 2 n prim
speed signal 1 Speed
sensor&DMS-power supply N_ab_signal
(output speed) Speed
sensor&DMS-power supply Ground
sensor p_Clutch
signal (variable) Pressure
sensor power supply Ground
sensor p_S2
signal Pressure
sensor power supply

1.3Pins of Transmission Main Connector
Connector layout (transmission side)

Pin distribution
|
Pin |
Signal |
Pin |
Signal |
|
1 |
Supplying valve (VHS) |
9 |
Power supply_8,4V |
|
2 |
EDS_1 |
10 |
P_S2 |
|
3 |
EDS_2 |
11 |
n_ab |
|
4 |
EDS_3 |
12 |
n_S1 |
|
5 |
Oil temperature |
13 |
DMS_A |
|
6 |
DMS_GND |
14 |
DMS_B |
|
7 |
Sensor GND |
15 |
DMS_C |
|
8 |
Power supply_5V |
16 |
DMS_D |
|
Signal |
Instructions |
|
DMS |
Driving mode sensor or gear/restrain sensor |
|
EDS_1 |
Drive bevel gear pressure regulator (solenoid valve) |
|
EDS_2 |
Driven bevel gear pressure regulator (solenoid valve) |
|
EDS_3 |
Clutch pressure regulator (solenoid valve) |
|
P_S2 |
Driven bevel gear pressure sensor |
|
N_ab |
Driven bevel gear speed sensor |
|
N_S1orN_Prim |
Drive bevel gear speed sensor |
TCU pin distribution
|
VT3-signal |
Pin |
|
Always close power supplyy Kl.30 |
1;2 |
|
Ignition power supply Kl.15 |
6 |
|
Grounding Kl.31 |
3;4 |
|
VHSD1 (Actuator power supply) |
5 |
|
Speed and position sensor power supply (8.4V) |
30; 77; 78 |
|
Pressure sensor power supply (5V) |
32;74 |
|
GND Driving mode sensor |
33 |
|
GND sensor grounding |
41; 64; 86 |
|
Transmission oil temperature |
38 |
|
N_Prim (drive bevel gear speed) |
61 |
|
N_ab (driven bevel gear speed) |
63 |
|
N_MOT (Engine speed signal) |
87 |
|
DMS_A (Driving mode sensor signal) |
57 |
|
DMS_B (Driving mode sensor signal) |
58 |
|
DMS_C (Driving mode sensor signal) |
79 |
|
DMS_D (Driving mode sensor signal) |
35 |
|
Brake signal |
34 |
|
Manual mode signal |
59 |
|
Gear inceasing signal |
81 |
|
Gear deceresing signal |
80 |
|
P_S2 (Driven bevel gear pressure) |
75 |
|
Snow mode |
76 |
|
Gear shift lock |
48 |
|
K-line |
85 |
|
CAN-H |
9 |
|
CAN-L |
8 |
|
Start lock |
92 |
|
EDS1 (Driven bevel gear pressure regulator) |
91 |
|
EDS2 (Driven bevel gear pressure regulator) |
90 |
|
EDS3 (Driven bevel gear pressure regulator) |
89 |
|
Reversing lamp relay |
71 |
Check the resistance between different pins, and judge if the driving mode sensor is good.
DMS_GND = pin-6
DMS_A =pin-13 DMS_B =pin-14 DMS_C =pin-15 DMS_D =pin-16
DMS_Supply = pin-9
|
|
DMS_Supply |
DMS_A |
DMS_B |
DMS_C |
DMS_D |
|
DMS_Supply |
x |
17.2MΩ |
17.2MΩ |
17.2MΩ |
17.2MΩ |
|
DMS_A |
17.2MΩ |
x |
9KΩ |
9KΩ |
9KΩ |
|
DMS_B |
17.2MΩ |
9KΩ |
x |
9KΩ |
9KΩ |
|
DMS_C |
17.2MΩ |
9KΩ |
9KΩ |
x |
9KΩ |
|
DMS_D |
17.2MΩ |
9KΩ |
9KΩ |
9KΩ |
x |
|
DMS_GND |
|
4.5KΩ |
4.5KΩ |
4.5KΩ |
4.5KΩ |
2.3 Oil temperature sensor Measure the inner resistance of oil temperature sensor. Measure the resistance between Pin-5 and Pin-7.
When the temperature is 20℃ to 40℃, the resistance should be 942Ω to 1121Ω.
This is a complex two-wire component, and there is no very simple way to measure whether it works in the following range:
· The resistance measured between Pin-9 and Pin-11 is around 24.3MΩ.
· The resistance measured between Pin-9 and Pin-12 is around 24.3MΩ.
▲Note: This method can not be measured to ensure that the speed sensor is well.
The resistance measured between Pin-7 and Pin-10 is about 44.3KΩ.
The resistance measured between Pin-7 and Pin-10 is about 5.2Ω.
The resistance measured between Pin-1 and Pin-3 is about 5.2Ω.
2.8 Driven Bevel Gear Pressure Regulator
The resistance measured between Pin- and Pin-2 is about 5.2Ω. TCU can’t be detected.
▲Note: Varying the precision of the measuring instrument will result in different measured resistance ranges.
Gear
shift lock Manual
sport mode Backlight
GND Shift
mechanism (CVT) Power
supply Body
control module C4 Gear
shift lock TIP
up signal TIP
down signal Manual
sport mode TIP
down signal TIP
up signal GND GND P gear
position switch P gear
position switch Inside
fuse relay box

TCU1
Engine
speed Front
compartment fuse relay box To P-CAN
bus communication system Diagnosis
Interface K-line K-line Engine
speed GND GND Power
CAN-L Power
CAN-H IGN
signal B+ Power Start
signal To
Starting relay Inside
fuse relay box

TCU2
Transmission Oil
temperature signal PS2 power
supply PS2 GND DMS GND Oil
temperature signal EDS
signal 3 EDS
signal 2 EDS
signal 1 Actuator
power supply Actuator
power supply EDS
signal1 EDS
signal 2 EDS
signal 3 DMS GND PS2 GND PS2 power
supply DMS
signal D DMS
signal C DMS
signal B DMS
signal A NSEC2_ANA NSEC2_ANA
signal PS2_ANA
signal DMS power
supply Transmission

TCU3
Adaptive learning is required in the following situations:
· Refresh the TCU software
· Replace the transmission
· Replace the TCU The clutch needs to be adaptively renewed (self-learning) to compensate for tolerances in the production process in order to achieve this function
by shifting gears at idle. Before the self-learning is completed, the TCU fault indicator flashes every 2 seconds. Once the first self-learning is complete, it is automatic throughout the life cycle.
This condition needs to be completed before self-learning:
· Engine torque and speed are required to be stable at idle. Self-learning of the engine is also required to be completed in advance. For more information about self-learning of the engine, please read the document provided by the ECU supplier.
· Engine speed requirement: ECU target value ±200rpm.
· Engine torque demand: ECU target value ±12N·m
· Transmission temperature should be between 30 ℃ to 80 ℃.
· The A/C is turned off.
· An unadaptive TCU will keep making request to the engine for idling up to 1150rpm.
If TCU has done self-learning before, this includes: 1. Refresh the software; 2. Replace transmission TCU, first need to delete the self-learning value. This can be done with MLT software, or with a factory tester.
When we have fulfilled all the conditions, we will perform the following operations:
· Vehicle speed =0kph.
· Not step accelerator pedal.
· Step on the brake pedal during the whole process.
· Shift gear to "D" gear.
Yes: The
time to complete the adaption is about 40s. Clutch
self-adapting succeed Self-learning
period T1>120s DTC FC55
is activated Ensure if
the engine temperature is above 60°C, the transmission temperature is 30°C
to 80°C Delete
the TCU self-learning value Wait or
drive until the temperature is within the specified range Carry out
roller high speed test End Keep the
brake pedal during the whole process Read DTC
FC55 Start
core EOL program timer T1=0: Timer
starts to start No No Yes Yes No No Yes Do the
followings: · Vehicle
speed = 0 kph · Not
step accelerator pedal · Press
the brake pedal · The A/C
is turned off · Shift
gear to "D" gear Start

The clutch adaptive program will start automatically. In the learning process, if there is interference adaptive condition, the fault code FC55(P1774) will be activated, and then the fault lamp will be on all the time as a warning. As long as the clutch self-learning is not completed, the fault code FC51(P080A) will be activated. At the same time, the fault lamp will keep flashing.
When everything is running smoothly, the adaptive time at the end of the gear is about 40s. If the adaption is not completed within 120s, the adaption will fail.
Clutch
self-adapting succeed Self-learning
period T1>120s DTC FC55
is activated Ensure if
the engine temperature is above 60°C, the transmission temperature is 30°C
to 80°C Yes Yes Yes No No No No Read DTC
FC55 Wait or
drive until the temperature is within the specified range Start
core EOL program timer T1=0: Timer
starts to start Do the
followings: · Vehicle
speed = 0 kph · Not
step accelerator pedal · Press
the brake pedal · The A/C
is turned off · Shift
gear to "D" gear Keep the
brake pedal during the whole process Yes: The
time to complete the adaption is about 40s. End

When the clutch adapts in this gear, the engine speed will rise to 1500rpm in a short time, at which time we can proceed to the next step.
Note: For the whole vehicle in the aftermarket, no high-speed test of the roller is required. Be sure to check again if all the self-learning prerequisites have been completed.
Please follow the steps below:
· Vehicle speed = 0 kph
· Release the accelerator pedal
· Keep the brake pedal during the whole process
· The off-line clutch adapts to start automatically. In the learning process, if there is interference adaptive condition, the fault code
FC55(P1774) will be activated, and then the fault light will be on all the time as a warning. As long as the clutch self-learning is not completed, the fault code FC51(P080A) will be activated. At the same time, the fault lamp will keep flashing. When the adaption is running smoothly, the time to complete the adaption is about 40s. If the adaption is not completed within 120s, the adaption will fail. If the clutch adapts successfully, the engine speed will rise to 1500rpm in a short time and then suddenly drop to idle speed (850rpm), at which time the gearbox fault indicator will automatically go out.
Note: first in D gear and then in R gear self-learning, the order is not mandatory. Also, first in R gear and then into D gear, such an adaptive order, is no problem.
|
Clutch self-learning Fault code |
Items |
|
1 |
Engine torque not steady |
|
2 |
A/C already in open state |
|
4 |
Pressure too high |
|
8 |
Engine speed too low |
|
16 |
Engine speed too high |
|
32 |
Invalid times too frequent |
|
Problem |
Possible reasons |
Solution |
|
Over 120s self-learning fail |
In the process of learning, the transmission oil temperature is below 30 ℃ |
Start the engine, wait for after the oil temperature rise above 30 ℃, self learning again |
|
In the process of learning, the transmission oil temperature is higher than 80 ℃ |
Close the engine, wait for after the oil temperature down to under 80 ℃, self learning again |
|
|
In the learning process, engine temperature is below 60 ℃ |
Start the engine, wait for after the oil temperature rise above 60℃, self learning again |
|
|
The brake pedal was loose during the learning process |
Re-self-learning to make sure the brake pedal be pressed during the whole process |
|
|
FC55: the offline adaptive fault code is 1 |
Engine torque not steady |
Steadily increase engine torque to ensure successful self-learning |
|
FC55: clutch self-learning fault code is 2 |
The A/C is on |
Turn off the A/C and start self-learning again |
|
FC55: The offline adaptive fault code is 4 |
Clutch pressure increased, but engine torque did not |
Put the gear in D or R, check whether the transmission torque is normal, check to make sure the engine torque signal is normal, and re-self-learning |
|
FC55: The offline adaptive fault code is 8 |
Engine speed too low |
Steady increase engine speed, re-self-learning |
|
FC55: The offline adaptive fault code is 16 |
Engine speed too high |
Steady increase engine speed, re-self-learning |
|
FC55: The offline adaptive fault code is 32 |
Abnormal torque, whether the switch is started, etc |
Confirm that all auxiliary functions are not used, and re-self-learning after confirmation |
|
No. |
Fault symptoms |
Fault analysis |
Solutions |
Remark |
|
1 |
Transmission oil pan gasket leakage |
Oil pan bolt damage |
Replace |
|
|
Oil pan gasket |
Replace |
|||
|
Oil drainage port |
Replace |
|||
|
Oil pan assembly |
Replace |
|||
|
2 |
Transmission oil drain screw plug leakage |
Screw plug fixing is not well |
Tightening |
|
|
Oil drain screw plug damage |
Replace |
|||
|
Oil pan assembly damage |
Replace |
|||
|
3 |
Drive bevel gear end cover leakage |
Sealing cover fixing is not well |
Tightening |
|
|
O-ring damaged |
Replace |
|||
|
Drive bevel gear end cover damaged |
Replace |
|||
|
4 |
Driven bevel gear end cover leakage |
Sealing cover fixing is not well |
Tightening |
|
|
Sealing cover O-ring damaged |
Replace |
|||
|
Driven bevel gear end cover assembly damaged |
Replace |
|||
|
5 |
Gear selecting lever leakage |
Gear selecting lever sealing gasket damaged |
Replace |
|
|
Input shaft leakage |
Input shaft sealing gasket damaged |
Replace |
||
|
Differential oil seal leakage |
Oil seal damage |
Replace |
||
|
6 |
oil cooler pipe connector leakage |
Pipe fixing is not good |
Tightening |
|
|
oil cooler pipe connector sealing ring damaged |
Replace |
|
||
|
Piping damaged |
Replace |
|
||
|
7 |
In the process of driving in D gear, the vehicle will be charged, or the vehicle will be charged when accelerating rapidly |
Self-learning is not fully completed |
relearning |
|
|
Fill wrong oil or there is water in the transmission |
Replace the transmission oil |
|||
|
Drive bevel gear speed sensor damaged |
Replace |
|||
|
Hydraulic control module malfunction |
Self-learning again |
|||
|
Driven bevel gear speed sensor damaged |
Replace |
|||
|
8 |
Shift to D gear, release the brake pedal, the vehicle is completely stationary, and then step the accelerator pedal, waiting for the engine speed of about 2000rpm, the vehicle suddenly rushed forward, with a greater impact |
Check the fault code when in cold engine state |
Diagnosis by fault code |
|
|
, check self-learning |
Re-self-learning again |
|
||
|
There is a problem with the brake signal. When the brake pedal is not stepped on, the brake signal is actually in the braking state, which will lead to this problem |
Check the brake signal and wiring harness |
|
||
|
If the inspections above have no problems, there may be the valve body problem |
Replace the valve body, and do self-learning |
|
2. Noise Problem Check and Maintenance
• Driven gear bevel gear sound When the speed is 60kph to 90kph, there is obvious noise when accelerating slowly. Release the accelerator pedal, the sound becomes smaller. Press the
accelerator pedal, the sound becomes larger. The sound is similar to a whistle. It increases with the speed of the vehicle and is a normal sound. It is the sound produced by the meshing of
the driven bevel gear and countershaft gear.
• R Reverse gear noise
Shift to the R gear, keep the vehicle still, a small whistle can be heard. This is the normal sound produced when the planetary gear inside the transmission works.
• Low speed noise
When the vehicle speed is 40km/h, release the accelerator pedal, and when the vehicle speed drops slowly, a whistle can be heard. This whistle is less audible and less audible than the sound described by the driven bevel gear, which is the normal sound between the pinion and the differential.
|
No. |
Fault symptoms |
Fault analysis |
Solutions |
Remark |
|
1 |
the drive bevel gear ball bearing noise, when the vehicle driving in D gear, it sends noise, the noise is a buzzing sound, sound size and frequency increases with the engine speed, but not with the vehicle speed. |
When driving at a constant speed (constant throttle valve opening, the vehicle speed is about 60km/h) in D gear, and then in S mode, the engine speed will increase by about 500rpm in 1 to 2 seconds. In this process, the vehicle speed is basically unchanged. If the sound rises with the engine speed, it is the sound caused by the damage of the drive bevel gear ball bearing |
Replace the drive bevel gear ball bearing |
|
|
In manual mode 4th gear, constant a certain throttle valve opening, keep the stable vehicle speed of about 60km/h, then shift to manual 3rd gear, the engine speed will rise about 800rpm at this moment, and then change to 4th gear from 3rd gear, the engine speed will drop about 800rpm, the entire process speed basic remains the same, if the sound rises with the engine speed up, the sound is from drive bevel gear ball bearing damage |
, replace the drive bevel gear |
|
||
|
ball bearing |
||||
|
2 |
Bearing noise inside the transmission The bearing noise inside the transmission makes noise during the moving process of the vehicle in D gear. The noise is a buzzing sound. |
According to the drive bevel gear ball bearing noise detection method, if the noise does not rise with the engine speed, but only rises with the vehicle speed, it may be the wheel half-shaft bearing noise, if the half-shaft bearing fault is eliminated, it is the transmission internal bearing noise |
It is very difficult to judge the noise problem correctly, so before you decide to replace the transmission parts or the entire transmission, you need to make sure that the noise is coming from the transmission. Easily replaceable parts of the vehicle can be replaced to determine the noise source |
See flow chart of internal bearing noise in transmission |
|
3 |
Gearbox water noise, shift to D gear or R gear, slowly release the brake pedal, as long as the wheels move there will be gurgling sound, if step the accelerator pedal, the vehicle speed from 10km/h to 40km/h will have a squeak ----, continuous sound; more than 40km/h, the sound disappear. In the beginning of the water inlet phase, may only hear the "gurgling" sound, when accelerating, you can not hear the "squeak ----" continuous sound. Some vehicle may start with a jump, depending on the water level. |
Drain oil, remove oil pan and drive bevel gear end cover. If there is a white substance inside the drive bevel gear end cover and the same white substance in the oil pan, it is sufficient to prove that there is water in the transmission or that the transmission is mixed with other oil or liquid |
Replace with a new oil filter and refill the transmission oil |
|
|
Drive at various speeds and accelerating/decelerating speed for about 5 minutes. "Gurgling" sound should disappear, "squeak ----" sound should be reduced |
Release the transmission oil and refill it with new transmission oil |
|||
|
"Squeak ----" sound can be done by stall experiment to increase the clutch temperature to solve. Shift to D gear position, press the brake pedal and accelerator pedal If during the process, it occurs fault code P2787 clutch temperature is too high to disconnect the clutch, this is only the transmission's self-protection function, rather than a fault. When the failure lamp is off automatically, you can continue to do the losing speed experience until the noise disappears. Too much water or mixed with too much other oil, the noise and channeling phenomenon can not be solved |
,
Replace the transmission |
|||
|
4 |
Noise in N or P gear (noise increases with the engine speed (the noise increases when accelerating in N gear) |
Judge if the sound is from engine or transmission |
Check the oil pump |
|
|
If it is from transmission |
||||
|
Check if oil pump has any abnormal noise |
||||
|
If it is from transmission, but not |
Replace the transmission |
|||
|
oil pump noise, it may be input shaft bearing or |
||||
|
planet gear set |
||||
|
5 |
Noise in N gear (noise doesn’t increase with the engine speed) |
This noise is from other parts of the vehicle and check the vehicle parts |
It is very difficult to judge the noise problem correctly, so before you decide to replace the transmission parts or the entire transmission, you need to make sure that the noise is coming from the transmission. Easily replaceable parts of the vehicle can be replaced to determine the noise source |
Refer to “Noise in N or P gear” check flow chart |
|
6 |
During driving, the vehicle rushes; when in D gear driving, the vehicle rushes; or when accelerating rapidly, the vehicle rushes |
Self-learning is not fully completed |
Complete the self-learing |
|
|
Fill wrong oil or there is water in the transmission, leading the transmission oil go bad |
Replace the new transmission oil |
|||
|
Drive bevel gear speed sensor failure |
Replace the drive bevel gear |
|||
|
Hydraulic control module (valve) failure |
Replace the hydraulic control module (valve body) |
|||
|
Driven bevel gear speed sensor failure |
Check self-learning |
|||
|
7 |
The vehicle can not start (without accelerating), shift to D gear, after releasing the brake pedal, the vehicle completely keep still, then accelerate, wait for the engine speed to about 2000rpm, the vehicle suddenly rushed forward, with a greater impact |
Check there is failure when the vehicle is cold |
Check self-learning |
|
|
There is failure in the brake signal. When there is no brake, the brake signal is actually in the braking state, which will lead to this failure |
Check the brake signal and wiring harness |
|||
|
If none of the above is found to be a problem, it may be the valve body problem |
Replace valve body. and do self-learning |
The
system is normal Replace
the related parts Whether
there is noise? Whether
there is noise? Replace
the transmission Replace
half shaft bearing Whether
there is noise? Ensure if
the noise becomes larger along with the increasing of engine speed Replace
the drive bevel gear ball bearing Ensure if
the noise becomes larger along with the increasing of engine speed Check
half shaft bearing Check the
other bearing inside the transmission Check
engine Check
engine Check
gearbox Failure
phenomenon: bearing buzz noise (only when driving in D gear position) No No No No No Yes Yes Yes Yes Yes

Flow chart of internal bearing noise in transmission
The
system is normal Check
engine Check the
planet gear or other input shaft bearing noise Check the
oil pump Check
other parts noise in the vehicle Replace
the oil pump Replace
the transmission Replace
the engine Whether
there is noise? Whether
there is noise? Whether
there is noise? Check
engine Ensure if
the noise becomes larger along with the increasing of engine speed Failure
phenomenon: there is noise in N or P gear position Yes Yes Yes Yes No No No No

Flow chart of noise detection in N or P gear
Once there is fault code in the transmission control unit, the failure lamp on the instrument panel will light up. Whenever you read the DTC and find the fault code with the diagnosis device, first check that if the fault code is historical
fault and did not appear in the last driving cycle. If so, delete the fault code and check that if the fault code will appear again. If it is not the historical fault but the current fault, follow the fault code below to solve it step by step.
Check for the latest software every time. If not, refresh to the latest software, and then check if the fault code still exists.
General instructions: whenever there is a fault code or transmission problems, first check the most basic three: a. Check whether it is special oil for CVT.
b. Check oil level.
c. Do self-study again. There is no need to complete all of the following procedures, and once the problem is solved, there is no need to proceed any further.
|
No. |
DTC code |
TCU solution |
Maintenance instruction |
|
1 |
P0710 Oil temperature sensor failure |
Fault indicator lamp is on, system self-set transmission oil temperature |
Use the tester to measure the transmission oil temperature. If the signal data is suitable, clear the fault code and check whether it will appear again. |
|
Check the circuit (open circuit, short circuit, grounding). |
|||
|
Measuring the resistance between the two pins of transmission main connector (when at 20 ℃, the resistance should be 980-1000Ω) to determine whether the oil temperature sensor is damaged, if there is damage, jump to the next step and change main connector directly |
|||
|
Replace it with a good TCU |
|||
|
Replace the transmission |
No. DTC code TCU solution Maintenance
instruction 2 P2765
Drive bevel gear speed sensor failure All
three pressure regulators are power off, fault indicator lamp is on Use the tester to
measure the transmission oil temperature. If the signal data is suitable,
clear the fault code and check whether it will appear again Check the circuit
(open circuit, short circuit, grounding). Replace it with a
good TCU Replace the speed
sensor 3 P0720
Driven bevel gear speed sensor failure Fault
indicator lamp is on, system self-set driven bevel gear speed Use the tester to
measure the transmission oil temperature. If the signal data is suitable,
clear the fault code and check whether it will appear again Check the
circuit (open circuit, short circuit, grounding). Replace it
with a good TCU Replace the
speed sensor 4 P0840
Driven bevel gear pressure sensor All
three pressure regulators are power off, fault indicator lamp is on Use the tester to
measure the actual oil pressure of the driven bevel gear and then compare
it with the target value. If the signal data is appropriate, clear the
fault code and check whether it will appear again According
to the value in the first step, check the circuit (grounding: 0bar
(actual pressure), short circuit: 60bar; open circuit 60bar) Replace it with a
good TCU Replace the valve
body.
:
|
No. |
DTC code |
TCU solution |
Maintenance instruction |
|
5 |
P0641 Pressure sensor power supply failure |
All three pressure regulators are power off, fault indicator lamp is on |
Use the detector to measure whether the input voltage is 5V, and if the data is correct, clear the fault code and detect whether it appears again |
|
Measure the voltage between the power supply wire and the grounding wire of the pressure sensor, based on the results in the first step |
|||
|
Check the circuit (open circuit, short circuit, grounding). |
|||
|
Replace it with a good TCU |
|||
|
Replace the hydraulic control module (valve) failure |
|||
|
6 |
P0651 Driving mode sensor and speed sensor power supply failure |
All three pressure regulators are power off, fault indicator lamp is on |
Use the detector to measure whether the input voltage is 8.4V, and if the data is correct, clear the fault code and detect whether it appears again |
|
Measure the voltage between the power supply wire and the grounding wire of the pressure sensor, based on the results in the first step |
|||
|
Check the circuit (open circuit, short circuit, grounding). |
|||
|
Replace it with a good TCU |
|||
|
7 |
P0659 Pressure regulator short circuit |
All three pressure regulators are power off, fault indicator lamp is on |
Measure HS voltage and compare with battery voltage |
|
If the same, test the circuit (whether there is a short circuit between the battery anode and the VHS and gearbox interfaces) and repair the wiring harness |
|||
|
If it is different and higher than 3.4V, replace the TCU |
|
No. |
DTC code |
TCU solution |
Maintenance instruction |
|
8 |
P0658 Pressure regulator open circuit or grounding |
All three pressure regulators are power off, fault indicator lamp is on |
Measure HS voltage and compare with battery voltage |
|
If the battery voltage is normal and the high end voltage is less than 3.4V, it indicates that there is circuit wire grounding |
|||
|
If the battery voltage is normal and the high end voltage is greater than 3.4V, it indicates that there is open circuit |
|||
|
In both cases, check the pin wire according to the specific situation, and replace the TCU if the wire is found intact after the inspection |
|||
|
If the battery voltage is abnormal, check the battery |
|||
|
9 |
P0702 TCU inner check system malfunction |
All three pressure regulators are power off, fault indicator lamp is on |
Replace TCU |
|
10 |
P0962 EDS1 Drive bevel gear pressure regulator grounding |
All three pressure regulators are power off, fault indicator lamp is on |
Measure the resistance of the drive bevel gear pressure regulator - should be at 5.05Ω±6% |
|
Check the wiring (grounding) and replace the transmission internal wiring harness or engine wiring harness according to the inspection result |
|||
|
Replace the hydraulic control module |
|||
|
11 |
P0963 EDS1 Drive bevel gear pressure regulator short circuit |
All three pressure regulators are power off, fault indicator lamp is on |
Measure the resistance of the drive bevel gear pressure regulator |
|
Check the wiring (open circuit) and replace the transmission internal wiring harness or engine wiring harness according to the inspection result |
|||
|
Replace the hydraulic control module |
|
No. |
DTC code |
TCU solution |
Maintenance instruction |
|
12 |
P0966 EDS2 Driven bevel gear pressure regulator grounding |
All three pressure regulators are power off, fault indicator lamp is on |
Measure the resistance of the driven bevel gear pressure regulator |
|
Check the wiring (grounding) and replace the transmission internal wiring harness or engine wiring harness according to the inspection result |
|||
|
Replace the hydraulic control module |
|||
|
13 |
P0967 EDS2 Driven bevel gear pressure regulator short circuit |
All three pressure regulators are power off, fault indicator lamp is on |
Measure the resistance of the driven bevel gear pressure regulator |
|
Check the wiring (short circuit) and replace the transmission internal wiring harness or engine wiring harness according to the inspection result |
|||
|
Replace the hydraulic control module |
|||
|
14 |
P0964 EDS2 Driven bevel gear pressure regulator open circuit |
All three pressure regulators are power off, fault indicator lamp is on |
Measure the resistance of the driven bevel gear pressure regulator |
|
Check the wiring (open circuit) and replace the transmission internal wiring harness or engine wiring harness according to the inspection result |
|||
|
Replace the hydraulic control module |
|||
|
15 |
P0902 EDS3 Clutch pressure regulator grounding |
All three pressure regulators are power off, fault indicator lamp is on |
Measure the resistance of the clutch pressure regulator |
|
Check the wiring (grounding) and replace the transmission internal wiring harness or engine wiring harness according to the inspection result |
|||
|
Replace the hydraulic control module |
|||
|
16 |
P0903 EDS3 Clutch Pressure regulator short circuit |
All three pressure regulators are power off, fault indicator lamp is on |
Measure the resistance of the clutch pressure regulator |
|
Check the wiring (short circuit) and replace the transmission internal wiring harness or engine wiring harness according to the inspection result |
|||
|
Replace the hydraulic control module |
|
No. |
DTC code |
TCU solution |
Maintenance instruction |
|
17 |
P1763 Start lock grounding or open circuit |
All three pressure regulators are power off, fault indicator lamp is on |
Check the wire, if the gear sensor has failure, sometimes it may has this fault code |
|
Replace TCU |
|||
|
18 |
P1764 Start lock short circuit |
All three pressure regulators are power off, fault indicator lamp is on |
Check the wire |
|
Replace TCU |
|||
|
19 |
P1768 Reversing lamp grounding |
All three pressure regulators are power off, fault indicator lamp is on |
Check the wire |
|
Replace TCU |
|||
|
20 |
P1769 Reversing lamp short circuit or open circuit |
All three pressure regulators are power off, fault indicator lamp is on |
Check the wire |
|
Replace TCU |
|||
|
21 |
P0868 Pressure pre-tension regulating failure |
All three pressure regulators are power off, fault indicator lamp is on |
Check the oil level and the oil quality |
|
Replace the oil pump |
|||
|
Replace the hydraulic control module |
|||
|
Replace the transmission |
|||
|
22 |
P0811 Clutch (forward or backward) slipping |
The failure indicating lamp is on, the clutch is open |
Do self-learning again, this fault code may occur in the cold vehicle state, so do self-learning in the cold vehicle state |
|
Check oil level and oil type |
|||
|
Replace the hydraulic control module |
|||
|
Replace the transmission |
|
No. |
DTC code |
TCU solution |
Maintenance instruction |
|
23 |
P0730 Transmission ratio control failure |
All three pressure regulators are power off, fault indicator lamp is on |
Use the detector to check the signal given by the speed sensor, and check the input current and feedback current of the drive bevel gear pressure regulator |
|
According to the fault to take the corresponding measures, such as the speed sensor has a problem to check the speed sensor, pressure has a problem to check the pressure sensor |
|||
|
Check oil level and oil type |
|||
|
Replace the oil pump |
|||
|
Replace the hydraulic control module |
|||
|
Replace the transmission |
|||
|
24 |
Driven bevel gear pressure is too low |
All three pressure regulators are power off, fault indicator lamp is on |
Measure actual pressure to compare with the target during dynamic driving conditions (like manual shift, etc.) |
|
Check oil level and oil type |
|||
|
Fully complete self-learning (fault codes may occur in the condition of self-learning uncompletion) |
|||
|
Check the causes of engine torque reduction at the engine end: spark plug, throttle, ternary catalysis, etc. (the longer the engine is used, the more likely this problem will occur) |
|||
|
Replace the hydraulic control module |
|||
|
Replace the oil pump |
|||
|
Replace the transmission |
|
No. |
DTC code |
TCU solution |
Maintenance instruction |
|
25 |
P1766 Driven bevel gear pressure too high |
Failure indicating lamp is on |
Measure actual pressure to compare with the target during dynamic driving conditions (like manual shift, etc.) |
|
Check oil level and oil type |
|||
|
Replace the hydraulic control module |
|||
|
Replace the oil pump |
|||
|
Replace the transmission |
|||
|
26 |
P0701 Two failure occur at the same time,require pressure regulator power off |
Failure indicating lamp is on |
Check other fault code |
|
27 |
P0218 Transmission oil temperature is too high |
Failure indicating lamp is on |
Check the oil cooler |
|
Try to have this failure occur again under normal driving condition. If not, ask the customer under what driving condition this failure occurred |
|||
|
In the driving condition of step 2, the transmission oil temperature can be measured, can use the detector to detect whether the transmission oil temperature ≥120 ℃ (if the time of occurring the fault code is shorter than 30 minutes, it is wrong) take measures to prevent the transmission temperature too high |
No. DTC code TCU solution Maintenance
instruction 28 P1767
Transmission oil temperature exceeds standard range All
three pressure regulators are power off, fault indicator lamp is on Try to have this failure occur again
under normal driving condition. If not, ask the customer under what
driving condition this failure occurred Check the oil
cooler Adjust or add the
oil Replace the valve
body. Replace the
transmission 29 P0219
Power system speed exceeds the range All three
pressure regulators are power off, fault indicator lamp is on Never occur in
principle Check if the
engine speed is limited within 6000rpm 30 P2766 Drive bevel
gear speed is not accord with the actual speed All
three pressure regulators are power off, fault indicator lamp is on Use the
detector to detect if other speed information (engine speed, output shaft
speed, vehicle speed) is also lost; If so, fix these problems first and
then check if the failure occurs again Use the detector to detect the drive
bevel gear speed signal. The difference between the engine speed and the
clutch speed should be within 200rpm. All comparisons should be made
within the low to high speed range of the engine (up to 6000rpm). Check the circuit Replace it with a
good TCU Check the position of the sensor,
the angle, and the speed sensor panel as well. Check if there is object
in front of the sensor (steel strip debris, etc.) Note: this is a
mechanical fault, electrical fault has other fault code Replace the drive
bevel gear speed sensor Replace the
transmission inner wiring harness
;
)
No. DTC code TCU solution Maintenance
instruction Replace the engine
wiring harness Replace the
transmission 31 P0721 Driven bevel
gear speed is not accord with the real speed The
fault indicator lamp is on. Increase the clamping force to the level of
0, system self-set driven bevel gear Use the
detector to detect whether other speed information (engine speed , output shaft
speed, speed) is also lost. If so, solve these
problems first,then check whether the failure will
occur again Use detector
to detect the speed signal of the drive bevel gear, when the clutch is meshing, compare
to the engine speed, the difference should
be less than 200rpm. All comparisons should be made within the low to high speed range
of the engine (up to 6000rpm). Check the
circuit Replace it
with a good TCU Check the
position of the sensor, the angle, and the speed sensor panel as well. Check if
there is any object in front of the sensor
(pieces of steel belt, etc.) fault, the
electrical fault has other fault codes Replace the
drive bevel gear speed sensor Replace the
transmission inner wiring harness Replace the
engine wiring harness
Note: This is a mechanical
;
)
No. DTC code TCU solution Maintenance
instruction Replace the transmission 32 P0944
Clamping force insufficient (VSM) The fault indicator
lamp is on. Increase the clamping force to the level of 0, system
self-set driven bevel gear Check ECU fault
code Replace ECU Check the oil level
and oil quality Fully
complete self-learning (this fault code may occur if the self-learning is
not fully completed) Check the causes of
engine torque reduction at the engine end: spark plug, throttle, ternary
catalysis, etc. (the longer the engine is used, the more likely this
problem will occur) Replace the valve
body. Replace the oil
pump Replace the
transmission 33 P0782 Winter
driving mode failure The fault
indicator lamp is on, system self-set winter mode close Check the circuit Replace ECU 34 P0783
Cruise control failure The fault
indicator lamp is on, system self-set cruise control function is closed Check the circuit Replace ECU Replace TCU 35 P0810
Offline adaptive updating not complete The fault
indicator lamp twinkles Do adaptive
updating again 36 P1762
Current value is fixed, can’t change All
three pressure regulators are power off, fault indicator lamp is on Check
and remove the fault code P0962, P0963, P0960, P0966, P0967, P0964,
P0902, P0903, P0900, P1763, P1764, and there
may be no fault code
.
|
No. |
DTC code |
TCU solution |
Maintenance instruction |
|
|
|
|
Fault Code |
|
Replace it with a good TCU |
|||
|
37 |
P0882 Battery or high end voltage too low |
All three pressure regulators are power off, fault indicator lamp is on |
When this happens, there is a record of the battery's current voltage (so you can tell if it is caused by battery or high voltage); if not history record, check next step directly |
|
Use the detector to detect the high voltage or battery voltage - temperature has a great influence on the value: please refer to the software for details |
|||
|
Check the circuit from the battery to the TCU (fuse, main relay) |
|||
|
Replace/check the battery |
|||
|
If it is high voltage problem: check the circuit from the transmission to the TCU |
|||
|
Replace TCU |
|||
|
38 |
P0883 Battery or high end voltage too high |
All three pressure regulators are power off, fault indicator lamp is on |
When this happens, there is a record of the battery's current voltage (so you can tell if it is caused by battery or high voltage); if not history record, check next step directly |
|
Use the detector to detect the high voltage or battery voltage - temperature has a great influence on the value: please refer to the software for details |
|||
|
Check the circuit from the battery to the TCU (fuse, main relay) |
|||
|
Check/Replace the battery or generator |
|
No. |
DTC code |
TCU solution |
Maintenance instruction |
|
|
|
|
If it is high voltage problem: check the circuit from the transmission to the TCU |
|
Replace TCU |
|||
|
39 |
P2787 Clutch temperature is too high |
The failure indicating lamp is on, the clutch is open |
Check how many times this failure occurred, if only once or a few times, look at the internal TCU data at that time and ask the customer about the special driving environment at that time, such as the climbing driving, then you can delete the fault code |
|
Check the oil level and oil quality |
|||
|
Fully complete self-learning (if the self-learning is not fully completed, this fault code may appear) |
|||
|
The fault code can only appear when the stall test is done. Delete the fault code and see if there is any fault code |
|||
|
Replace TCU |
|||
|
It could be that the throttle valve is stuck. Replace the throttle valve |
|||
|
40 |
P0727 From the ECU to TCU hardwire engine speed signal transmission is inconsistent with the real speed |
Failure indicating lamp is on |
Check the engine test report to see if there is engine failure, and if so, repair the engine |
|
Check TCU input signal - this is a frequency signal (900rpm is 30Hz, 3000rpm is 100Hz) |
|||
|
Replace TCU |
|||
|
Replace the engine speed sensor |
|||
|
42 |
P1761 Pressure regulator circuit failure |
All three pressure regulators are power off, fault indicator lamp is on |
Use the detector to detect the pressure decreasing inside the pressure regulator and compare it to the specified current of each pressure regulator |
|
Use the detector to detect the current of the pressure regulator and compare it with the specified current. If one of the current is found to be different from the specified |
|
No. |
DTC code |
TCU solution |
Maintenance instruction |
|
|
|
|
current, check the wire of the pressure regulator (also check the inside of the transmission). |
|
Replace TCU |
|||
|
Replace the hydraulic control module |
|||
|
Replace the transmission inner wiring harness |
|||
|
Replace the engine wiring harness |
|||
|
43 |
U0301 Vehicle configuration failure (such as use other vehicle ECU) |
All three pressure regulators are power off, fault indicator lamp is on |
Check whether the combination of TCU hardware and software is correct and effective |
|
If it is EMS or TCU new brush software: the software on the new controller must be wrong (the incompatibility between the transmission controller and the engine controller) |
|||
|
44 |
P0706 Driving mode sensor single wire failure |
The fault indicating lamp is on, the system self-set sensor position |
Use the detector to check that if there is something wrong with the wire, what is the problem, such as short circuit in line B, etc. (this fault indicates that one of the wires is faulty) |
|
Check the wiring between the transmission and TCU |
|||
|
Replace it with a good TCU |
|||
|
Replace the driving mode sensor |
|||
|
Replace the transmission inner wiring harness |
|||
|
Replace the engine wiring harness |
|||
|
45 |
P0706 Driving mode sensor multi wire failure |
All three pressure regulators are power off, fault indicator lamp is on |
Use the detector to check that if there is something wrong with the wire, what is the problem, such as short circuit in line B, etc. (this fault indicates that one of the wires is faulty) |
|
Check the wiring between the transmission and TCU |
|
No. |
DTC code |
TCU solution |
Maintenance instruction |
|
|
|
|
Replace it with a good TCU |
|
Replace the driving mode sensor |
|||
|
Replace the transmission inner wiring harness |
|||
|
Replace the engine wiring harness |
|||
|
46 |
P0571 Brake signal failure |
The fault indicating lamp is on, brake signal combined |
Use the detector to check the state of brake signal |
|
Check the brake signal circuit |
|||
|
Check the brake switch |
|||
|
Replace TCU |
|||
|
47 |
P0955 Manual increasing/decreasing gear signal fault |
The fault indicating lamp is on, no manual mode |
Check the circuit between TCU and gear shifting |
|
Replace the gear shift mechanism |
|||
|
Replace it with a good TCU |
|||
|
48 |
U0001 CAN bus failure |
The fault indicating lamp is on, activate the emergency mode, no manual mode; increase the clamping force level 1 (highest), the system self-set lock and the rotating condition, activate the internal driving strategy, system self-set the engine speed, the system self-set the engine torque, the system self-set engine coolant temperature, brake signal combines, accelerator pedal digital is fixed, the system self-set the left front wheel speed, the system self-set the right front wheel speed, the system self-set |
If this fault occurs in all other controllers, it is wiring harness problem (CAN-H and CAN-L speed short circuit) : check the vehicle wiring harness |
|
If the fault is stored only in the TCU: replace a good TCU |
|
No. |
DTC code |
TCU solution |
Maintenance instruction |
|
|
|
|
the left rear wheel speed, the system self-set the right rear wheel speed. |
|
|
|
49 |
U0121 ABS communication fault |
CAN |
Failure indicating lamp is on, emergency |
Check the CAN communication connector on the ABS controller (perhaps this fault will be reported on other controllers) |
|
mode is activated, no manual |
||||
|
mode add clamping torque level |
||||
|
0, system self-set lock and rotation condition, system self-set left front wheel speed, system self-set |
||||
|
right front wheel speed, system self-set |
||||
|
left rear wheel speed, system |
||||
|
self-set right rear wheel speed |
||||
|
50 |
U0100 ECU communication fault |
CAN |
Failure indicating lamp is on, active emergency mode, no manual |
Check the CAN communication connector on the ABS controller (perhaps this fault will be reported on other controllers) |
|
mode add clamping torque horizontal |
||||
|
0, active inner driving strategy, system self-set engine torque, system self-set engine |
||||
|
coolant temperature, accelerator pedal |
||||
|
value is fixed, stop at |
||||
|
data transmitting on CAN |
||||
|
51 |
U1012 CAN bus Engine speed signal failure |
The system self-set the engine speed |
Check MCU controller (Engine speed sensor and sensor grounding wire) |
|
|
52 |
U1013 CAN bus accelerator pedal signal failure |
The failure indicating lamp is on, the accelerator pedal value is fixed |
Check EMS controller (Accelerator pedal sensor and sensor power supply wire) |
|
No. DTC code TCU solution Maintenance
instruction 53 U1014
CAN bus failure
indicating lamp is on, active Check
EMS controller Note: All three pressure
regulators are power off: when there is fault code and the pressure regulators
are power off, clutch is open, the vehicle can’t
go even shift gear, only when the engine is missfire, the key is pulled
out and ignit again, at this time,
the vehicle can
go. Increase clamping force level
0: driven gear pressure is fixed
bevel. The pressure is higher than
the normal condition, and is lower than the highest level Increase clamping force level
1: driven bevel gear pressure is fixed at the highest level EDS1: Drive bevel gear
pressure regulator EDS2: Driven bevel gear
pressure regulator EDS3: Clutch pressure
regulator Emergency mode: also called
claudication home mode, when there is the following conditions, it is
activated: CAN bus wire is loosened emergency
mode, no manual CAN ECU communication failure Engine
torque signal Mode
activates the inner driving strategy CAN engine torque signal
fault failure , system self-set
the engine All signals related to engine
and ABS will be replaced (apply safe measure): Torque Throttle valve opening is
fixed Engine MAP instead of engine
torque The engine coolant
temperature is fixed The wheel speed is replaced
by the speed of the transmission output shaft Engine speed signal is
transmitted by a filer Clutch opens or combines
relatively rigid, as if no calibration data is inside The maximum engine speed is
limited to 3200rpm The maximum speed is limited
to 98km/h The transmission will shift
gear in only one acceleration strategy The CVT will only work under
the most basic conditions, providing enough drivability to get the
vehicle to the station
nearby
maintenance After 2 seconds, manual gear
or sport gear are not in use, and the failure lamp is on
,
,
1.1 Transportation and Storage.................................................- 106 -
1.2 Usage........................................................- 107 -
1.3 Maintenance....................................................- 107 -
Chapter II Specification.............................................- 109 -
1. Fastener specifications......................................- 109 -
1.1 Manual transmission specification..............................................- 109 -
2. Component locating diagram..........................................- 110 -
2.1 Input shaft assembly..................................................- 110 -
2.2 Countershaft assembly.................................................- 110 -
2.3 Differential assembly.................................................- 111 -
2.4 Reverse shaft assembly.................................................- 112 -
2.5 Transmission case assembly...................................................- 113 -
2.6 Shift fork assembly...................................................- 115 -
Chapter III Diagnosis Information and Operation...................................- 116 -
1. Symptom-Manual transmission.....................................- 116 -
Chapter IV Maintenance Guide.........................................- 117 -
1. Removal under the vehicle............................................- 117 -
1.2 Remove hydraulic separating bearing...........................................- 117 -
1.3 Remove gear shifting shaft assembly.......................................- 118 -
1.4 Remove transmission assembly bolt and disassembly.......................................- 118 -
1.5 Remove left transmission body assembly.......................................- 119 -
1.7 Remove right transmission body assembly.......................................- 121 -
1.8 Remove input shaft assembly.......................................- 121 -
1.9 Remove countershaft assembly.......................................- 122 -
Remove reversing shaft assembly.......................................- 125 -
Remove differential assembly.......................................- 126 -
Chapter V Installation under the vehicle.......................................- 127 -
1. Caution............................................- 127 -
2. Assemble............................................- 128 -
2.1 Assemble right transmission body assembly.......................................- 128 -
2.2 Assemble input shaft assembly.......................................- 128 -
2.3 Assemble countershaft assembly.......................................- 129 -
2.4 Assemble reversing shaft assembly.......................................- 132 -
2.5 Assemble differential assembly.......................................- 133 -
2.7 Assemble left transmission body assembly.......................................- 135 -
2.9 Assemble gear shifting shaft assembly.......................................- 136 -
|
2.11 Assemble transmission oil drain screw plug......................................- |
Chapter I Outline and instruction
1. Outline
●Main usage and application range
MF622D35 transmission is used to equipped with 1.5T engine horizontally installed and front drive. The transmission is suitable for the J7 with 1.5T engine.
●Applicable working condition and environment
The transmission can adapt to various working conditions and working environment of the vehicle equipped with 1.5T engine.
●Structure type and main technical parameter 1. Structure type
All synchromesh manually shifted mechanical transmission has flexible gear shifting, good manipulation, low noise, compact structure, large payload and good airtightness. All gears are normally engaged transmission of helical gears, shift gears of single cone and triple cone synchronizer, shift gears are controlled by soft cable, structure drawing of assembly is as follows:
1. Differential assembly
2. Reversing shaft assembly
3. Countershaft assembly
4. Input shaft assembly
5. Hydraulic separating bearing
6. Right transmission body
7. Left transmission body
|
Torque capacity |
210 N·m |
|
Type |
Manual operation |
|
Drive mode |
Transverse front wheel drive |
|
Gear of shifting |
6 forward gears, 1 reversing gear |
|
Transmission ratio |
1st gear/3.545, 2nd gear/2.105, 3rd gear/1.345, 4th gear/0.971, 5th gear/0.744, 6th gear/0.630, reverse gear/3.455, main reducer/4.462 |
|
Clutch control |
Hydraulic type |
|
Weight (kg) |
42 (without oil) |
|
Lubricating oil specification |
SAE 75W-85 (MTF-10) |
|
Filling method |
Fill from oil filling plug hole (the highest oil plug) |
|
Lubricating oil level |
Lower surface of oil level plug hole (the middle oil plug) |
|
Lubricant oil filling volume |
1.95±0.05L |
1. Transmission should be rust proof, to ensure that the transmission in the normal transport and storage will not rust.
2. Transmission before transport should be packaged and sealed on the shelf after fastening, shelves should ensure that in normal transport, the transmission will not damage.
3. The transmission shall be stored in a ventilated and dry warehouse and shall be kept in good packing condition.
4. Under the condition of keeping the transmission in good condition, the storage period shall not exceed half a year.
5. After the transmission is assembled in the engine, it should be loaded into the whole vehicle as soon as possible to avoid the aging of oil seal lip caused by the long transmission exposure in the air.
6. When the transmission is loaded on the vehicle, the special lubricating oil for the transmission shall be added according to the regulations, and the internal parts of the transmission shall be fully lubricated before being sold out of the factory.
1. The proper suggested figures of the speed per hour for each forward gear are as follows:
|
Gear |
Vehicle speed (km/h) |
|
1st gear |
0~15 |
|
2nd gear |
15~30 |
|
3rd gear |
30~40 |
|
4th gear |
40~60 |
|
5th gear |
60~75 |
|
6th gear |
75~100 |
▲Notes: a. Transmission shift operation should be carried out within the speed range. b. When the transmission is matched with different vehicles, the speed suitable for each gear is different.
2. Gear shifting principle
a. The gear shifting principles while forwarding are as follows: speedup from 1st-6th gear grade by grade; speed-down from 6th to 1st grade by grade. Reverse gear mustn’t be selected while forwarding.
Note: To prevent the maloperation of gear shifting, the transmission has locking device that does not allow 6th gear to reverse gear. b. When shifting to R gear, it requires the vehicle to be in static state. In order to avoid abnormal sound when reversing,
it is required to wait for about 3 seconds after fully pressing the clutch pedal, and then shift to R gear. It’s forbidden to shift to R gear when in driving forward state; meanwhile, don’t shift to forward gears while reversing.
▲Note: When the vehicle is running, the transmission shifting principle may not be obeyed in an emergency. 3. Operation
By controlling the lever in the cab, the selector lever and the shift lever can be finally manipulated for shifting operation. Indicate the corresponding locations of different gear shifting and selecting according to the different directions the control rod knob indicates. The control lever will automatically return to neutral position after each gear shifting; you can select gear only if it returns to neutral; when gear shifting, fully press the release pedal to enable the transmission to come off the engine’s torsion and control the shift lever. Low speed gear shall be selected while starting.
a. Low speed gear shall be selected while climbing up and down and turning. Taxiing with clutch disengaged is not allowed.
b. When it becomes difficult to control the shift rod, parking shall be done to check the reasons without too much thrust.
1. For the initial maintenance, after the transmission is running-in, the first warranty does not need to replace the new transmission oil; then do regular maintenance. Its maintenance should be in the vehicle special maintenance station.
2. Regular maintenance: replace mileage: check every 30000km or 3 years (supplement or replace if necessary), replace every 100000km or 5 years;
Replace period: check every 3 years (if necessary add or replace), replace every 5 years.
▲Note: B: replace transmission oil when necessary for maintenance inspection; H: replace the transmission oil; a. The maintenance period shall be based on the odometer reading or the number of months, whichever is reached first.
b. Suitable for various driving conditions (repeated short distance driving; driving on uneven or muddy roads; driving on dusty roads; driving on extremely cold or saline roads; a short, repetitive drive in extremely cold weather).
c. Replace transmission oil when necessary for maintenance inspection.
d. For other maintenance operations but not oil replacement, when lifting the vehicle, should also check whether the transmission leaks oil. 3. Maintenance and troubleshooting under the condition of the vehicle;
4. During maintenance, check the transmission oil as follows:
a. Confirm whether the vehicle is in horizontal state to check the oil level.
b. Check the transmission for oil leakage. If so, repair the leaking part. See the maintenance manual for the repair method. c. Remove the oil filling screw plug.
d. Check the oil level. The oil level can be roughly checked through the oil filling hole, that is, remove the oil filling screw plug, if the transmission oil flows out from the oil inlet hole, or the oil level can be seen to reach the oil inlet hole, the oil level is normal. Otherwise, should add the transmission oil until to the oil inlet hole. 5. During maintenance, replace the transmission oil as follows:
a. Before replacing the oil, the engine must stop and lift the vehicle horizontally.
b. Under the condition of lifting the vehicle, check the oil level and whether there is oil leakage. If there is oil leakage, deal with it.
c. Remove the oil screw plug, discharge the waste oil, and add the specified new oil according to the specified oil quantity (add it to the oil level hole). d. Oil drain screw plug is coated with sealant and tighten it according to the specified torque.
|
Application |
Specification |
|
Separating bearing installation bolt |
10.2~13.8 N·m |
|
Transmission assembly bolt |
18~28 N·m |
|
Reversing lamp switch assembly installation bolt |
7~10 N·m |
|
Neutral signal sensor installation bolt |
5~8 N·m |
|
Oil inlet screw plug |
12~18 N·m |
|
Oil drain screw plug |
12~18 N·m |
|
Gear shifting transmission bolt |
18~28 N·m |
|
Cable bracket bolt |
19~25 N·m |
|
Differential bolt |
80~100 N·m |
|
Tighten screw sleeve |
121~129 N·m |
|
Application |
Specification |
|
Final drive ratio |
4.462 |
|
1st gear transmission ratio |
3.545 |
|
2nd gear transmission ratio |
2.105 |
|
3rd gear transmission ratio |
1.345 |
|
4th gear transmission ratio |
0.971 |
|
5th gear transmission ratio |
0.744 |
|
6th gear transmission ratio |
0.630 |
|
Reversing gear transmission ratio |
3.455 |
|
Transmission oil volume |
1.95±0.05L |
|
Transmission type |
Manual MF622D35 |

|
No. |
Parts name |
Code |
Quantity |
Remark |
|
1 |
Input shaft left bearing |
1709401-MF622C01 |
1 |
|
|
2 |
Input shaft assembly |
1701110-MF622D35 |
1 |
|
|
3 |
Main shaft front bearing |
1709406-MR513B01 |
1 |
|
2.2 Countershaft assembly

|
No. |
Parts name |
Code |
Quantity |
Remark |
|
1 |
Countershaft right bearing inner ring |
1709412-MF622C01 |
1 |
Need to purchase with bearing outer ring (1709410-MF622D01) |
|
2 |
Countershaft |
1701131-MF622D01 |
1 |
|
|
3 |
Tighten screw sleeve |
1709301-MF515B01 |
1 |
|
|
4 |
Countershaft left bearing inner ring |
1709422-MF622C01 |
1 |
Need to purchase with bearing outer ring (1709420-MF622D01) |
|
5 |
Countershaft 6th gear assembly |
1701360-MF622C01 |
1 |
|
|
6 |
5th/6th gear synchronizer stop ring |
1709505-MF620C11 |
1 |
|
|
7 |
Single cone synchronizer ring |
1701432-MF618A01 |
2 |
|
|
5th/6th gear synchronizer assembly |
1700406-MF618A01 |
1 |
|
|
|
9 |
Countershaft 5th gear assembly |
1701350-MF622C01 |
1 |
|
|
10 |
2nd/3rd gear clamp ring 1 |
1709503-MF622D01 |
4 |
|
|
11 |
4th/5th gear clamp ring 2 |
1709504-MF620C11 |
2 |
|
|
12 |
Countershaft 4th gear assembly |
1701340-MF622D11 |
1 |
|
|
13 |
3rd/4th gear synchronizer stop ring |
1709502-MF620C11 |
3 |
|
|
14 |
Double cone synchronizer gear ring assembly |
1700603-MF622C01 |
2 |
|
|
15 |
1st/2nd gear synchronizer assembly |
1700405-MF622C01 |
2 |
|
|
16 |
Countershaft 3rd gear assembly |
1701330-MF622D11 |
1 |
|
|
17 |
Countershaft 2rd gear assembly |
1701320-MF622D11 |
1 |
|
|
18 |
1st/2nd gear synchronizer gear ring assembly |
1700601-MF622C01 |
2 |
|
|
19 |
1st gear needle bearing |
1709451-MF622C01 |
1 |
|
|
20 |
Countershaft 1st gear assembly |
1701310-MF622D11 |
1 |
|
|
21 |
Countershaft 1st gear gasket |
1709229-MF618A01 |
1 |
|
2.3 Differential assembly

|
Parts name |
Code |
Quantity |
Remark |
|
|
1 |
Differential bearing inner ring |
1709432-MF622D01 |
2 |
Need to purchase with bearing outer ring (1709430-MF622D01) |
|
2 |
Differential assembly |
2303310-MF622D13 |
1 |
|
2.4. Reversing shaft assembly

|
No. |
Parts name |
Code |
Quantity |
Remark |
|
1 |
Reversing gear shaft |
1701511-MF622D01 |
1 |
|
|
2 |
Deep groove ball bearing |
09306204A |
1 |
Reversing gear left bearing |
|
3 |
High speed synchronizer clamp ring |
1709522-MR510A01 |
1 |
|
|
4 |
R gear synchronizer assembly |
1700407-MF618A01 |
1 |
|
|
5 |
Double cone synchronizer gear ring assembly |
1700603-MF618A01 |
1 |
|
|
6 |
Reversing gear idling gear |
1701561-MF622D11 |
1 |
|
|
7 |
1st gear needle bearing |
1709451-MF515A01 |
1 |
|
|
8 |
Reversing shaft reversing gear gasket |
1709229-MF622D01 |
1 |
|
|
9 |
Input shaft front bearing |
1709401-MR623B01 |
1 |
Reversing gear right bearing |
2.5 Transmission body assembly

|
No. |
Part No. |
Part Name |
Quantity |
Remark |
|
1 |
0904060025F7 |
Hex flange bolt |
2 |
Separating bearing mounting bolt |
|
2 |
1706265-MF622A01 |
Hydraulic separation bearings |
1 |
|
|
3 |
0904080040F7 |
Hex flange bolt |
20 |
Transmission assembly bolt |
|
4 |
1709812-MF513A01 |
Transmission connecting pin |
2 |
|
|
5 |
1709161-MF514M01 |
Differential oil seal |
2 |
|
|
6 |
1709803-MF626A01 |
Transmission assembly pin |
2 |
|
|
7 |
1709551-MF513A01 |
Magnet |
1 |
|
|
8 |
1709431-MF622D01 |
Differential bearing outer ring |
2 |
Need to purchase with bearing inner ring (1709430-MF622D01) |
|
9 |
1709219-MF622C01 |
Differential adjusting washer |
1 |
|
|
10 |
1701721-MF622D11 |
Left transmission body |
1 |
|
|
11 |
1709905-MF626B02 |
Plug screw |
2 |
|
|
12 |
1709904-MF622D31 |
Oil drain screw plug |
1 |
|
|
13 |
0904060016F7 |
Hex flange bolt |
1 |
Neutral signal sensor bolt |
|
14 |
1707110-MF618A11 |
Neutral gear signal sensor |
1 |
|
|
15 |
1700531-MF622D31 |
Gear shift shaft assembly |
1 |
|
|
16 |
0928060012 |
Cylindrical pin |
1 |
|
|
17 |
1709711-MF626A01 |
Shift fork shaft sleeve |
4 |
|
|
18 |
1709208-MF622C01 |
Countershaft adjusting gasket |
1 |
|
|
19 |
1709421-MF622C01 |
Countershaft left bearing outer ring |
1 |
|
|
20 |
1701726-MF622D01 |
Countershaft oil collecting tray |
1 |
|
|
21 |
1709411-MF622C01 |
Countershaft right bearing outer ring |
1 |
|
|
22 |
1701726-MF622C01 |
Reversing shaft oil collecting tray |
1 |
|
|
23 |
1709110-MF620A11 |
Input shaft oil seal |
1 |
|
|
24 |
1706211-MF622A01 |
Air discharging valve connection |
1 |
|
|
25 |
1701711-MF622D11 |
Right box |
1 |
|
|
26 |
0904080030F7 |
Hex flange bolt |
3 |
Cable bracket bolt |
|
27 |
0971080F7 |
Big washer A class |
3 |
|
|
28 |
1706190-MF622D11 |
Cable bracket assembly |
1 |
|
2.6 Gear shift fork assembly

|
Part No. |
Quantity |
Remark |
||
|
1 |
1700509-MF622D01 |
Reverse gear shift fork assembly |
1 |
|
|
2 |
1700507-MF622C01 |
Forward shift fork shaft assembly |
1 |
|
Chapter III Diagnosis information and operation
1. Symptom-Manual transmission
|
Symptoms |
Operation |
|
|
Cause |
Measure |
|
|
Out of mesh |
The shift lever is badly worn and deformed |
Manual straightening shift lever; if serious bending or wear, Replace |
|
Gear shifting rocket arm is badly worn and deformed |
Replace gear shifting rocker arm in time |
|
|
Gear shifting lock ball elasticity reduced |
Replace gear shifting lock ball in time |
|
|
Wear and strain of shifting fork |
Shifting fork bending deformation can be straightened manually, but serious wear should be replaced |
|
|
Synchronizer gear shell, gear sleeve or gear ring abrasion |
If gear taking off occurs, wear parts should be replaced |
|
|
After the adjustment, the transmission did not return to the N gear position, or the adjustment mechanism is loose |
Reposition to N gear, and adjust the clearance. |
|
|
Insufficient gear shifting stroke of gear shifting tower |
Replace the gear shifting tower |
|
|
The connection between engine and transmission is too loose or the clearance is not adjusted properly |
Can be solved by adjusting its clearance |
|
|
Transmission noise or abnormal sound |
Insufficient transmission oil or dirty oil |
Fill enough oil or replace the oil |
|
Too big gear axial clearance |
Replace the gear. |
|
|
Gear worn or gear broken |
Replace the gear. |
|
|
Synchronizer gear ring worn or broken |
Replace the gear |
|
|
Bearing damage or worn |
Replace the bearing |
|
|
Difficult gear shifting |
Shift lever or shift fork produce deformation or uneven wear |
Replace the component. |
|
Shift fork sleeve deformed |
Replace the component. |
|
|
The synchronizer ring is clamped on the gear cone |
The solution is to replace the gear ring |
|
|
Synchronizer slider damaged |
Replace the synchronizer slider |
|
|
Gear sleeve wear or ring keyway wear widen |
Replace relevant parts. |
|
|
Oil leakage |
Oil drain screw plug leak oil |
First, it is possible that the tightening torque of the screw plug is less than the specified value.The second is possible with the deviation or thread tooth damage, replace the corresponding parts |
|
Leakage of sealing part |
Replace the sealing part, and pay attention to the normative operation |
|
|
Oil leakage on transmission case joint surface |
Check and make the tightening torque of each connection bolt conform to the regulations. |
|
1. Removal under the vehicle
1.1 Loosen the oil drain screw plug to drain the oil
As shown in the figure below, loosen and remove the oil filling screw plug, the oil level screw plug and the oil drain bolt to release the transmission oil;

1. Oil level screw plug 2. Oil drain screw plug 3. Oil filling screw plug
As shown in the figure below, first remove the clip on the separating bearing, then pull out the air discharging valve connector, then remove the hydraulic separating bearing bolt (2 in total), then remove the clutch hydraulic separating bearing, and finally remove the transmission assembly bolts in right transmission body (5 in total);

1. Air discharging valve connector 2. Hex flange bolt (2) 3. Transmission assembly hex flange bolt (5) 4. Hydraulic separating bearing
As shown in the figure below, first remove the gear shifting case bolts (3), then shift to N gear, and remove the gear shifting shaft assembly
(Note: the gear shifting shaft can be moved up and down to select the gear, namely N gear).

1. Gear shifting shaft assembly 2. Hexagon flange bolt
As shown in the figure below, first remove the transmission assembly bolts (12 in total) on the left transmission body, and then remove the left transmission body with the transmission body separator.

1. Hexagon flange bolt (12)
As shown in the figure below, after removing the transmission assembly bolts (12) on the left transmission body, take down the clip on the bolt; then remove the neutral signal sensor bolt, take down the neutral signal sensor; remove the left transmission body differential oil seal with the oil seal puller (Note: scrap the oil seal, and it cannot be used again); then remove the gear shifting case locating pin (Note: scrap and cannot be used again); turned around and transmission body, remove the countershaft left bearing outer ring and differential bearing outer ring with inertia hammer; finally remove the shift fork sleeve of forward gears and reverse gear fork fork rod hole (Note: scrap and cannot be used again).

1. Neutral signal sensor 2. Neutral sensor bolt 3. Gear shifting case locating pin 4. Shift fork sleeve (2) 5. Counershaft left bearing outer ring 6. Countershaft adjusting washer 7. Differential bearing outer ring 8. Transmission assembly pin 9. Differential adjusting gasket 10. Left transmission body 11. Clamp 12. Differential oil seal 13. Transmission assembly bolt (12)
As shown in the figure below, first remove the input shaft assembly, then the countershaft assembly and the forward gear shifting fork assembly, then the reverse shaft assembly and the reverse gear shifting fork assembly, and finally the differential assembly.

1. Input shaft assembly 2. Forward gear shifting fork assembly 3. Reverse gear shifting fork assembly 4. Reverse gear shaft assembly 5. Differential assembly 6. Intermediate shaft assembly

1. Transmission assembly pin (2) 2. Cable bracket assembly 3. Cable bracket bolt (3) 4. Cable bracket big washer (3) 5. Engine connecting pin (2) 6. Input oil seal 7. Differential oil seal 8. Differential right bearing outer ring 9. Magnet 10. Countershaft right bearing outer ring 11. Countershaft oil collecting tray 12. Reversing gear shaft oil collecting tray 13. Shift fork sleeve (2)
Use bearing extractor to disassemble the input shaft. It can only be split into the input shaft right bearing and the rest of the components.

1. Input shaft right bearing

1. 5th/6th gear synchronizer gear sleeve 2. Single cone synchronizer gear ring 3. Countershaft left bearing inner ring 4. Countershaft 6th gear assembly

1. Countershaft 5th gear assembly 2. Single cone synchronizer gear ring 3. 5th/6th synchronizer stop ring 4. 5th/6th synchronizer hub assembly

1. Double cone synchronizer gear ring assembly 2. Countershaft 4th gear assembly 3. 2nd/3rd gear clamp ring 1 4. 4th/5th gear clamp ring 2

1. 1st/2nd gear synchronizer assembly 2. 3rd/4th gear synchronizer stop ring 3. Double cone synchronizer gear ring assembly

1. 3rd/4th gear synchronizer stop ring 2. Countershaft 3rd gear assembly

1. Countershaft 2nd gear assembly 2. 1st/2nd gear synchronizer gear ring assembly 3. 4th/5th gear clamp ring 2 4. 2nd/3rd gear clamp ring 1

1. 3rd/4th gear synchronizer stop ring 2. 1st/2nd gear synchronizer assembly 3. 1st/2nd gear synchronizer gear ring assembly 4. Countershaft 1st gear gasket
5. 1st gear needle bearing 6. Countershaft 1st gear assembly

1. Countershaft right bearing inner ring 2. Countershaft

1. Reverse gear left bearing 2. R gear synchronizer gear sleeve 3. High speed synchronizer clip ring

1. Reverse gear idling gear 2. R gear synchronizer hub assembly 3. Double cone synchronizer gear ring assembly 4. Reverse gear shaft reverse gear gasket
5. 1st gear needle bearing

1. Reverse gear right bearing
|
|
1. Shaft retaining ring (2) 2. Planetary gear shaft |
|
|
1. Half shaft gear gasket (2) 2. Half shaft gear (2) 3. Planetray gear gasket (2) 4. Planetary gear (2) |
|
|
1. Differential bearing inner ring |
|
|
1. Hex flange bolt (10) 2. Main reduction gear |
① Clean all parts, when assembly, please use the corresponding special auxiliary tool, ensure the smooth assembly of each component;
② In the relative movement of parts surface, spray gear oil;
③ Needle bearing assembly should be in the peripheral surface of the gear oil;
④ Before the oil seal assembly, spread oil to the oil seal hole evenly;
⑤ When assembling the synchronizer, first align the synchronizer sliding block to the sliding bolt slot on the synchronizer gear ring;
⑥ Pay attention to the position and direction of each part;
⑦ Note: When assembling the transmission (left and right transmission body; gear shifting case), the magnet can not be mis-installed, and has been coated with transmission assembly glue;
⑧ Note: when installing the input shaft assembly, the spline of the input shaft shall not scratch the oil seal of the input shaft; otherwise, replace the oil seal of the input shaft;
⑨ Pay attention to the assembly of the main reduction gear and the countershaft locking screw sleeve, the screw teeth should be evenly coated with an appropriate amount of LETAI 271 thread fastening adhesive;
⑩ Pay attention to the tightening torque of each bolt;

1. Shift fork sleeve (2) 2. Transmission assembly pin (2) 3. Cable bracket assembly 4. Cable bracket bolt (3) 5. Cable bracket big washer (3) 6. Engine connecting pin (2) 7. Input oil seal 8. Differential oil seal 9. Differential right bearing outer ring 10. Magnet 11. Countershaft right bearing outer ring 12. Countershaft oil collecting tray

1. Input shaft right bearing 2. Output shaft left bearing

1. 3rd/4th gear synchronizer stop ring 2. 1st/2nd gear synchronizer assembly 3. 1st/2nd gear synchronizer gear ring assembly 4. Countershaft 1st gear gasket
5. 1st gear needle bearing 6. Countershaft 1st gear assembly

1. Countershaft 2nd gear assembly 2. 1st/2nd gear synchronizer gear ring assembly 3. 2nd/3rd gear clamp ring 1 4. 4th/5th gear clamp ring 2

1. 3rd/4th gear synchronizer stop ring 2. Countershaft 3rd gear assembly

1. 1st/2nd gear synchronizer assembly 2. 3rd/4th gear synchronizer stop ring 3. Double cone synchronizer gear ring assembly

1. Double cone synchronizer gear ring assembly 2. Countershaft 4th gear assembly 3. 4th/5th gear clamp ring 2 4. 2nd/3rd gear clamp ring 1

1. 3rd/4th gear synchronizer stop ring 2. 1st/2nd gear synchronizer assembly 3. Double cone synchronizer gear ring assembly 4. Countershaft 5th gear assembly

1. Single cone synchronizer gear ring 2. Countershaft 6th gear assembly 3. Countershaft left bearing inner ring

Precautions:
1. Tighten screw sleeve
1. In addition to pressing and installing the bearing, spread lubricating oil to the countershaft and countershaft matched parts before each assembly step;
2. In the last step, the locking screw sleeve needs to be coated on the thread with LPT 7649 catalyst and LPT 272 thread fastening adhesive.
3. At each assembly point, check whether the gear is flexible and whether the clamp ring is in place;

1. Reverse gear idling gear 2. High speed synchronizer clamping ring 3. R gear synchronizer assembly 4. Double cone synchronizer gear ring assembly 5. 1st gear needle bearing
6. Reversing shaft reversing gear gasket

1. Reversing left bearing
Note: 1. Except for pressing and installing the bearing, when installing, spread the lubricating oil to the reversing shaft surface and synchronizer and gear ring matched surface;
2. At each assembly point, check whether the gear is flexible and whether the clamp ring is in place;
|
|
1. Hex flange bolt (10) 2. Main reduction gear Note: 1. This step is warm installation; 2. Before tightening the bolt, it is necessary to spread the thread with lenten 7649 catalyst and lenten 272 thread fastening adhesive; |
|
|
1. Differential bearing inner ring (2) |
|
|
1. Half shaft gear gasket (2) 2. Half shaft gear (2) 3. Planetray gear gasket (2) 4. Planetary gear (2) |
|
|
1. Shaft retaining ring (2) 2. Planetary gear shaft |

1. Input shaft assembly 2. Forward gear shift fork assembly 3. Reversing gear shift fork assembly 4. Reversing gear shaft assembly 5. Differential assembly
6. Countershaft assembly After completing this step, need to measure distance between the countershaft bearing outer ring end surface to the transmission assembly surface of the right transmission body, the distance between the differential bearing outer
ring end surface to the transmission assembly surface of the right transmission body, the distance between the left transmission body countershaft bearing hole end surface (the end surface contact to the countershaft gasket) to the transmission assembly surface of left transmission body, the distance between the left transmission body countershaft bearing hole end surface (the end surface contact to the differential gasket) to the transmission assembly surface of left transmission body. Calculate the corresponding difference, according to the following principles to select the appropriate countershaft gasket and differential gasket. Selection principle of gasket:
1) Assemble and ensure that the countershaft assembly has an interference of 0.04mm~0.11mm in the transmission body;
2) Assemble and ensure that the differential assembly has an interference of 0.09mm~0.16mm in the transmission body;

1. Neutral signal sensor 2. Neutral sensor bolt 3. Gear shifting case locating pin 4. Shift fork sleeve (2) 5. Countershaft left bearing outer ring 6. Countershaft adjusting gasket 7. Differential bearing outer ring 8. Transmission assembly pin 9. Differential adjusting gasket 10. Left transmission body 11. Clamp 12. Differential oil seal 13. Transmission assembly bolt (12)


1. Gear shifting shaft assembly 2. Hex flange bolt (3)

1. Air discharging valve connector 2. Hex flange bolt (2) 3. Transmission assembly hex flange bolt (5) 4. Hydraulic separating bearing